EasyManua.ls Logo

Eagle EB-1200 - LED Display and Function Keys

Eagle EB-1200
40 pages
Print Icon
To Next Page IconTo Next Page
To Next Page IconTo Next Page
To Previous Page IconTo Previous Page
To Previous Page IconTo Previous Page
Loading...
4810 Clover Road • Greensboro, NC 27450 • 1-800-336-2776 • www.eagleequip.com • © Eagle Equipment 2017.12 • page 12
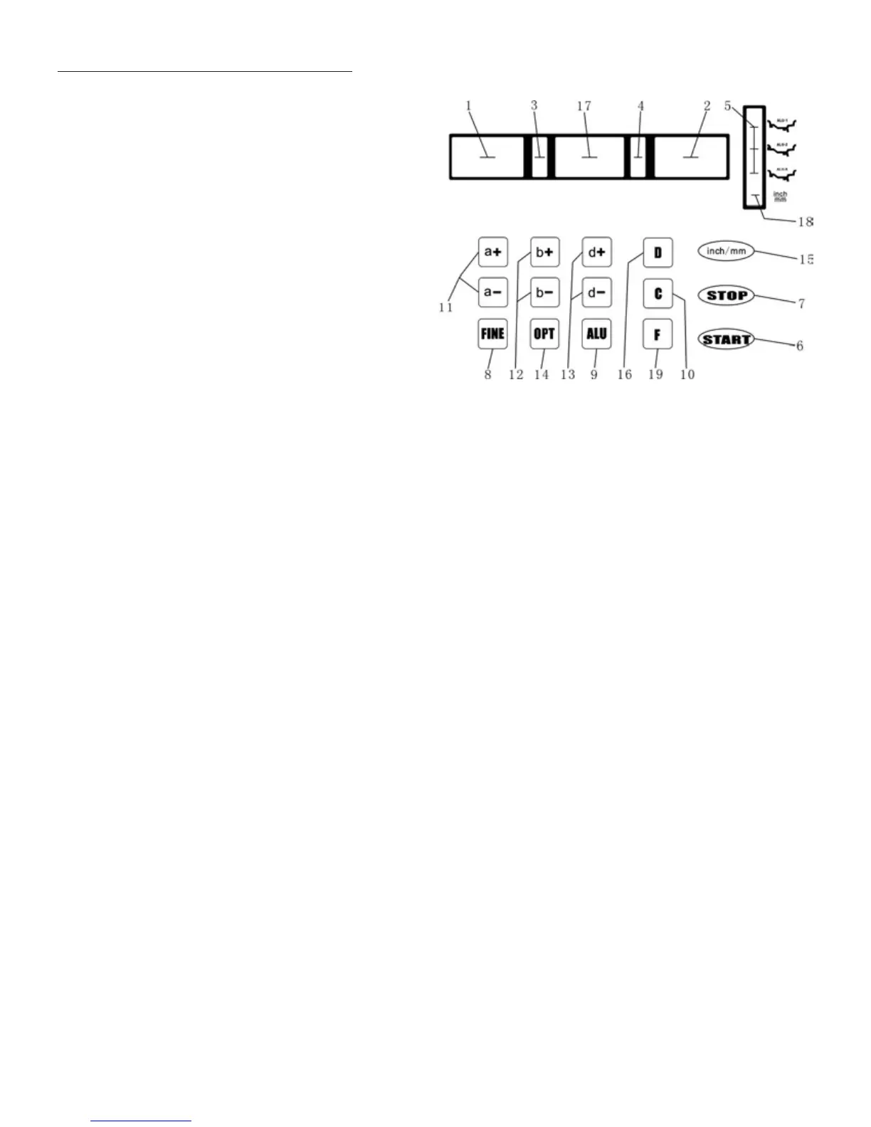
1. Digital readout, amount of imbalance,
inside or “DISTANCE” dimension
2. Digital readout, amount of imbalance,
outside or “DIAMETER” dimension
3. Digital readout, position of imbalance, inside
4. Digital readout, position of imbalance, outside
5. Indicator, “ALU” correction mode selected
6. Push button, cycle start
7. Push button, emergency and selection of
special functions
8. Push button, unbalance display pitch and
threshold
9. Push button , selection of “ALU” mode of
correction
10. Push buttons for recalculation and self-calibration
11. Push buttons, manual DISTANCE (a) setting
12. Push buttons, manual WIDTH (b) setting
13. Push buttons, manual DIAMETER (d) setting
14. Push button, optimization of unbalance and split unbalance
15. Selection of dimensions, inch/mm
16. Push button, self-diagnostics, self-calibration and split unbalance
17. Digital readout, “STATIC” unbalance or “WIDTH” dimension
18. Indicator of dimensions in mm
19. Selection, “STATIC” or “DYNAMIC” correction
NOTE: Only use the fingers to press buttons. Never use the counterweight pincers or other pointed
objects to press buttons.
5. LED DISPLAY AND FUNCTION KEYS
Figure 5-1