EasyManua.ls Logo

EBARA ESA200W - Setting Running Modes and Speeds

EBARA ESA200W
92 pages
Print Icon
To Next Page IconTo Next Page
To Next Page IconTo Next Page
To Previous Page IconTo Previous Page
To Previous Page IconTo Previous Page
Loading...
P.37
PM10U
EBARA
CORPORATION
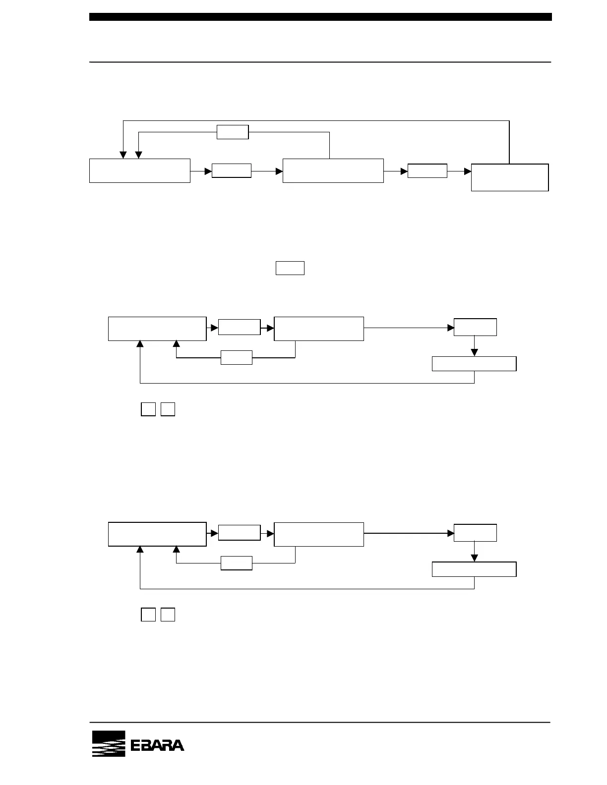
6.3.3 Setting the pump running mode
A case of display if Normal mode selected.
S.ENERGY MODE : Enables the energy-saving operation
NORMAL MODE : Enables the rated operation.
The mode that is currently not set is displayed.
If you do not need to set, press PRG. key to go back to the previous screen.
6.3.4 Setting the BP normal rotational speed
:Use the up and down arrow keys to change the setting value.
: Increase the setting speed by 0.1 kmin
-1
.
: Decrease the setting speed by 0.1 kmin
-1
Upper limit BP : 5.0 kmin
-1
Lower limit BP : 3.0 kmin
-1
6.3.5 Setting the rotational speed in the LOW SPEED mode
Use the up and down arrow keys to change the setting value.
: Increase the setting speed by 0.1 kmin
-1
.
: Decrease the setting speed by 0.1 kmin
-1
Upper limit BP : The value lower than the set value for the normal speed
Lower limit BP : 1.0 kmin
-1
SET
RUNNING MODE?
PRG.
ENTER
ENTER
S.ENERGY MODE?
Setting
Completed
Use the keys, ”” and ”” to set.
SET BP
NORMAL SPEED?
ENTER
BP NORMAL SPEED
## kmin
-1
ENTER
Setting Completed
PRG.
Use the keys, ”” and ”” to set.
SET BP
LOW SPEED?
ENTER
BP LOW SPEED
## kmin
-1
ENTER
Setting Completed
PRG.

Related product manuals