EasyManua.ls Logo

EBARA EV-S100N - Troubleshooting WARNINGs

EBARA EV-S100N
113 pages
Print Icon
To Next Page IconTo Next Page
To Next Page IconTo Next Page
To Previous Page IconTo Previous Page
To Previous Page IconTo Previous Page
Loading...
P.84
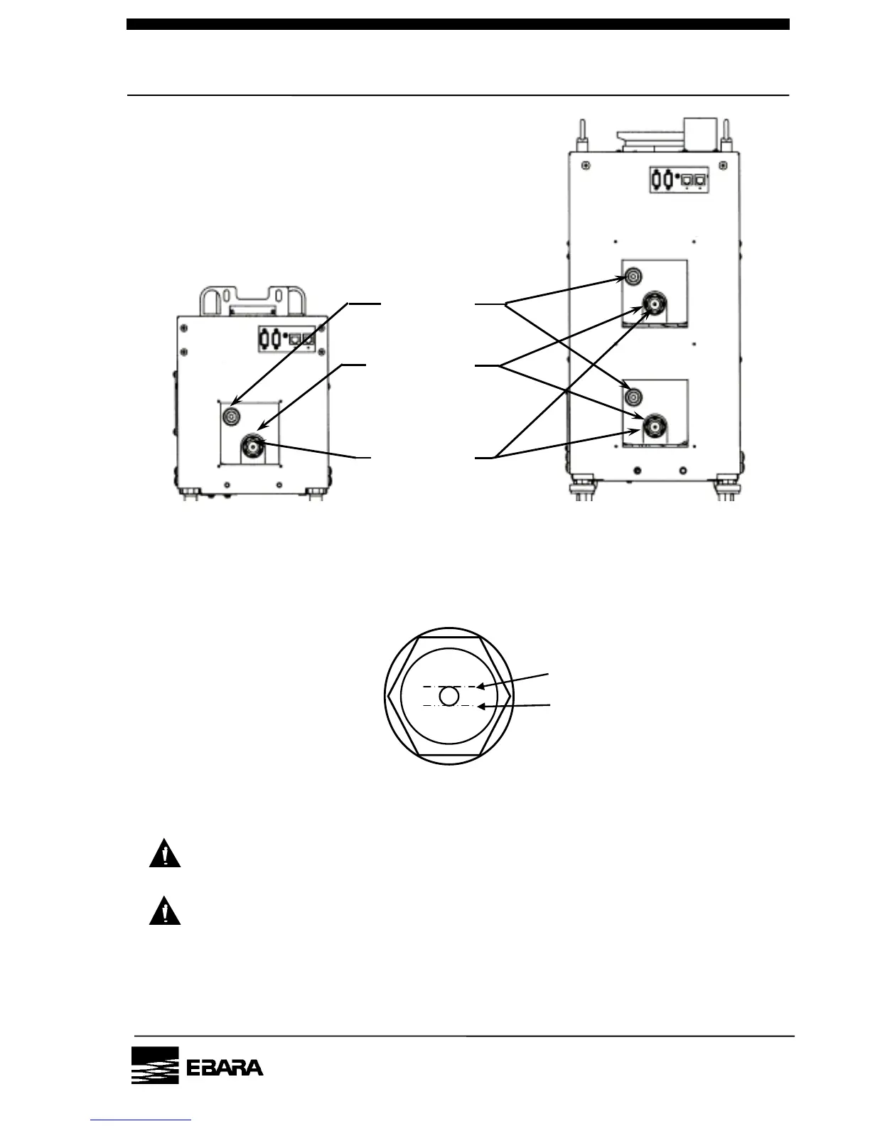
Fig. 7.2 Oil filler inlet, oil level gauge, and oil drain port positions
Fig. 7.3 Oil Level Gauge
CAUTION Be sure only to use the lubricant oils listed in specification table 3.1.
CAUTION Waste oil shall be disposed of by industrial waste disposal
dealer in accordance with Material Safety Data sheets.
(appendix1,2)
Oil level gauge
Oil filler Inlet
Oil drain port
(Oil reservoir)
Bottom line
Top line
PM10U
EBARA
CORPORATION

Table of Contents

Related product manuals