EasyManua.ls Logo

Ecoer EAHAEC-36 - 7.3.4 Heating Mode(Heat Pump Units)

Ecoer EAHAEC-36
157 pages
Print Icon
To Next Page IconTo Next Page
To Next Page IconTo Next Page
To Previous Page IconTo Previous Page
To Previous Page IconTo Previous Page
Loading...
70/157
SDi Decades Extreme Service Manual www.ecoer.com
May. 2023Manufacturer reserves the right to change specifications or designs without notice.
7.3.4 Heating Mode(Heat Pump Units)
7.3.4.2 Indoor Fan Control:
1) In heating mode, the indoor fan operates continuously. The fan speed can be set to low, medium,
high, turbo and auto.
Anti-cold air function
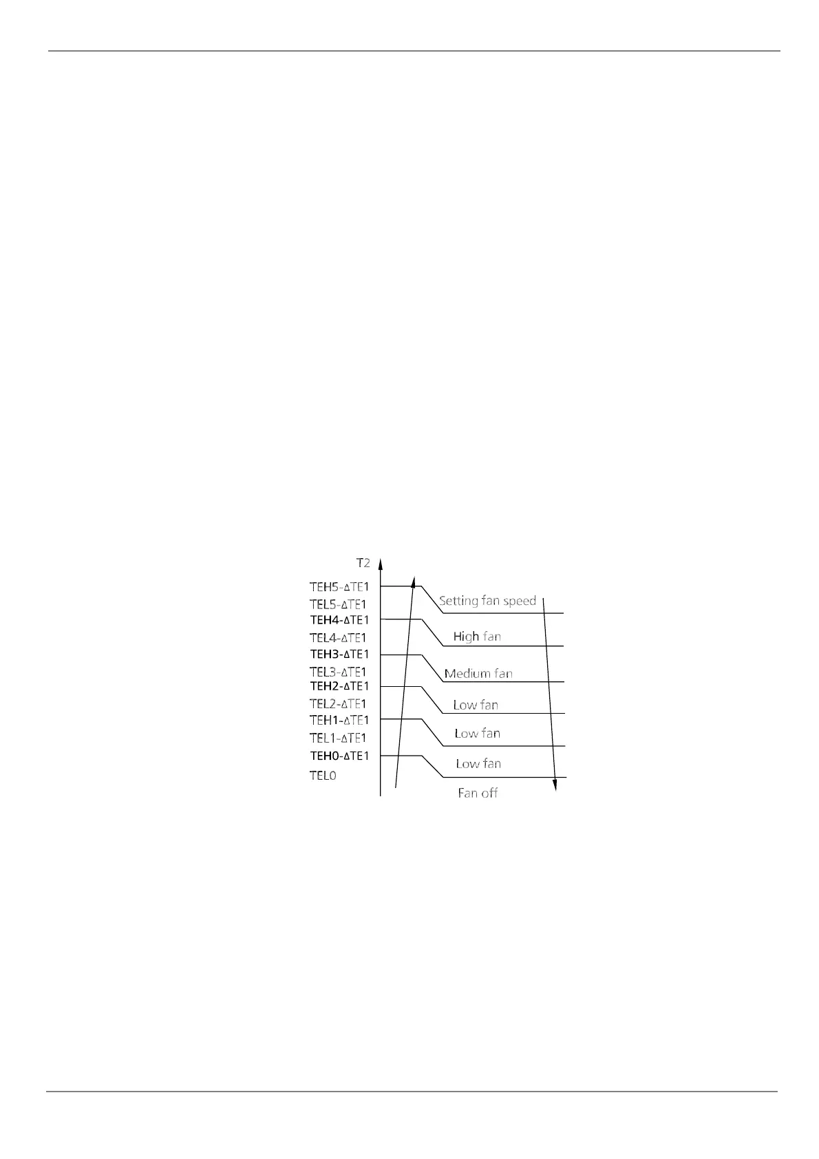
The indoor fan is controlled by the indoor temperature T1 and indoor unit coil temperature T2.
ΔTE1=0
2) Auto fan action in heating mode:
Rise curve
When T1-Tsc is higher than -3, fan speed reduces to high;
When T1-Tsc is higher than 0, fan speed reduces to medium;
When T1-Tsc is higher than 1, fan speed reduces to low.
Descent curve
When T1-Tsc is lower than or equal to 0, fan speed increases to medium;
When T1-Tsc is lower than or equal to -3, fan speed increases to high;
When T1-Tsc is lower than or equal to -6, fan speed increases to turbo.
7.3.4.3 Outdoor Fan Control:
The outdoor unit will be run at different fan speed according to T4 and compressor frequency.
For different outdoor units, the fan speeds are different.
7.3.4.1 Compressor Control
If the following conditions are satisfied, the compressor stops operation.
When the frequency value calculated through GA algorithm is negative compensation.
T1 is greater than or equal to (Tsc+HDIFTEMP2). HDIFTEMP2 is a parameter of EEPROM.
Compressor running time is greater than or equal to 10 minutes. If compressor running time is less than 10
minutes, even if the above shutdown conditions are met, the compressor cannot be turned off, but will maintain
operation in the minimum frequency FminH(until the running time is over 10 minutes).
If one of the following conditions is satisfied, the minimum compressor running time(10mins) could be
ignored.
Compressor running frequency fr is greater than test frequency TestFre.
When compressor running frequency fr is equal to test frequency TestFre, T4 is greater than or equal to
59 or T4 fault.
Changing remote controller setting temperature.
Turn on or off these functions: Turbo function, Sleep function, Mute function.
Any protection occurs.
TEL0, TEH0, TEH1...
are the parameters of of EEPROM.

Related product manuals