EasyManua.ls Logo

Electrolux EFC3862MS - Concentrated Detergent; Detergent Tablets; Detergent Dispenser; Amount of Detergent to Use

Electrolux EFC3862MS
31 pages
Print Icon
To Next Page IconTo Next Page
To Next Page IconTo Next Page
To Previous Page IconTo Previous Page
To Previous Page IconTo Previous Page
Loading...
conventional, alkaline detergents with caustic components
low alkaline concentrated detergents with natural enzymes
Normally new pulverised detergent is without phosphate. The water softener function of
phosphate is not given. In this case we recommend
to fill salt in the salt container even when
the hardness of water is only 6 dH. If detergents without phosphate were used in case of hard
water often white spots appear at dishes and glasses. In this case please add more detergent to
reach better results. Detergents without chlorine do only bleach a little. Strong and coloured spots
will not removed completely. In this case please choose a programme with higher Temperature.
Concentrated Detergent
Based on their chemical composition, dishwasher can be split in two basic types:
11
Detergent Tablets
Detergent tablets of different brands
dissolve at different speeds. For this reason some
detergent tablets cannot dissolve and develop their full cleaning power during short
programmes. Therefore please use long programmes when using detergent tablets, to
ensure the complete removal of detergent residuals.
Detergent Dispenser
The dispenser must be refilled before the start of each wash cycle following the instructions
provided in the Wash Cycle Table . Your dishwasher uses less detergent and rinse aid than
conventional dishwasher. Generally, only one tablespoon of detergent is needed for
a normal wash load. Also, more heavily soiled items need more detergent. Always add the
detergent just before starting the dishwasher, otherwise it could get damp and will not
dissolve properly.
Amount of Detergent to Use
11 22
NOTE:NOTE:
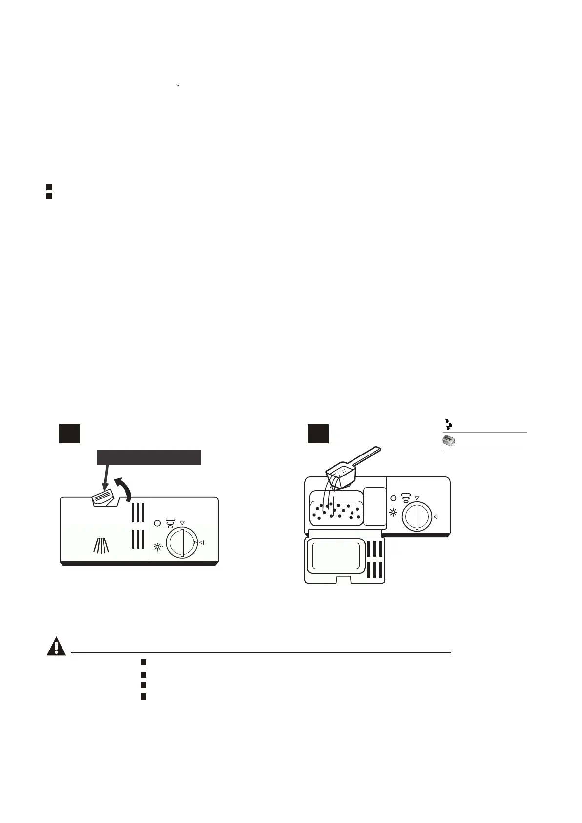
Detergent tablet
Detergent powder
Push latch to open
AA
B
Press the release latch on the detergent
2
dispenser to open the cover.
Add detergent into the larger cavity (A) for main
wash. For more heavily soiled wash loads, also
add some detergent into the smaller cavity (B) for
release during pre-wash.
If the lid is closed: press release button. The lid springs open.
Always add the detergent just before starting each wash cycle.
Only use branded detergent aid for dishwasher.
Detergent tablets of different brands dissolve at different speeds. For this
reason, some detergent tablets cannot dissolve and develop their full cleaning
power during short programs (Pre-rinse, Quick). Therefore please use long
programs when using detergent tablets, to ensure the complete removal of
detergent residuals.

Related product manuals