EasyManua.ls Logo

Electrolux EOB 6790 - Oven Timer Programming; Programming Automatic Oven Shut-off; Programming Delayed Start and Stop

Electrolux EOB 6790
32 pages
Print Icon
To Next Page IconTo Next Page
To Next Page IconTo Next Page
To Previous Page IconTo Previous Page
To Previous Page IconTo Previous Page
Loading...
10
!
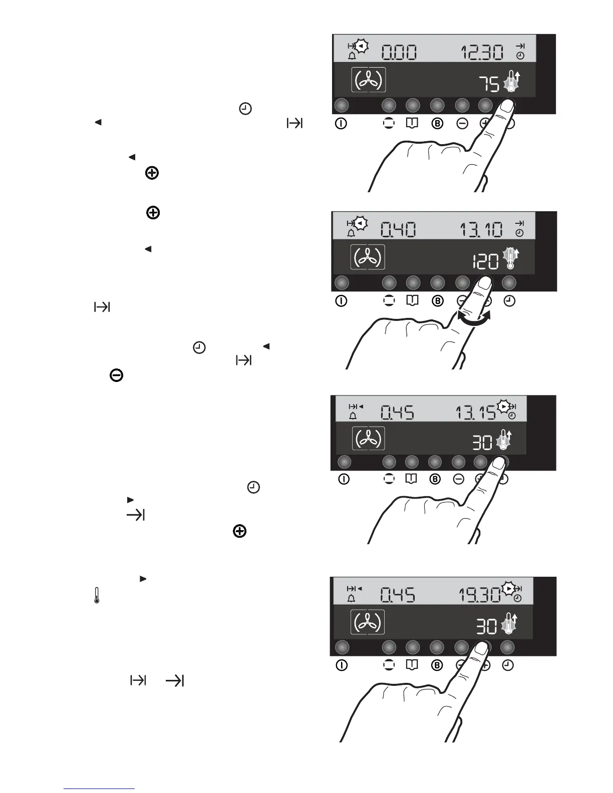
To programme the oven to
switch off
1. Switch the oven on, place food in the oven, select
a cooking function and adjust the cooking tempe-
rature, if required.
2. Press the "Time Function" button . The symbol
flashes near the "Cooking Duration" symbol .
The time display shows "0.00" at the left hand and
the current time of day at the right hand (Fig. 12).
3. Symbol will flash for 5 seconds. Within this time,
press button to select the required time. Maximum
time is 23 hours 59 minutes. Note that the time
indication on the right hand will also change as you
press button , showing at which time the oven will
automatically switch off (fig. 13).
4. After another 5 seconds after you have set the time,
the symbol stops flashing. This means that the
setting has been stored in the Electronic Control
memory and that the countdown started.
5. When cooking time is over, the oven automatically
switches off. You hear an acoustic alarm while symbol
flashes and the time display shows "0.00".
6. To switch off the acoustic alarm, press any button.
To cancel the Cooking Duration Time:
Press time function button : the symbol flashes
near the "Cooking Duration" symbol . Then press
button until the time display shows "0.00".
Please note that, if you cancel the "Cooking Duration",
the oven does not switch off.
To programme the Oven to
switch on and off
1. Carry out the "Cooking Duration" setting as
described at points 1 to 4 in the previous chapter.
2. Press the "Time Function" button twice: the
symbol flashes near the "End of Cooking Time"
symbol (Fig. 14).
3. Within 5 seconds, press button to select the
required end of cooking time, which is shown at the
right hand of the time display (Fig. 15).
4. After another 5 seconds after you have set the time,
the symbol stops flashing, the thermometer symbol
# comes off, the temperature display shows "30"
and the oven switches off. This means that the setting
has been stored in the Electronic Control memory
and that the countdown started.
5. The oven will switch on and off automatically
according to your settings. When cooking is
completed, you hear an acoustic alarm while both
symbols and flash. The time display shows
"0.00" at the left hand.
6. To switch off the acoustic alarm, press any button.
To cancel the programme, simply cancel the
Cooking Duration time as described at the end of
the previous chapter.
!
Fig. 12
Fig. 13
Fig. 14
Fig. 15

Related product manuals