EasyManua.ls Logo

Electrolux EOB 6790 - Safety and Energy Saving Features; Automatic Safety Cut-Off; Child Safety Lock Activation; Fast Heat Up (Booster) Function

Electrolux EOB 6790
32 pages
Print Icon
To Next Page IconTo Next Page
To Next Page IconTo Next Page
To Previous Page IconTo Previous Page
To Previous Page IconTo Previous Page
Loading...
11
Safety and Energy Saving Functions
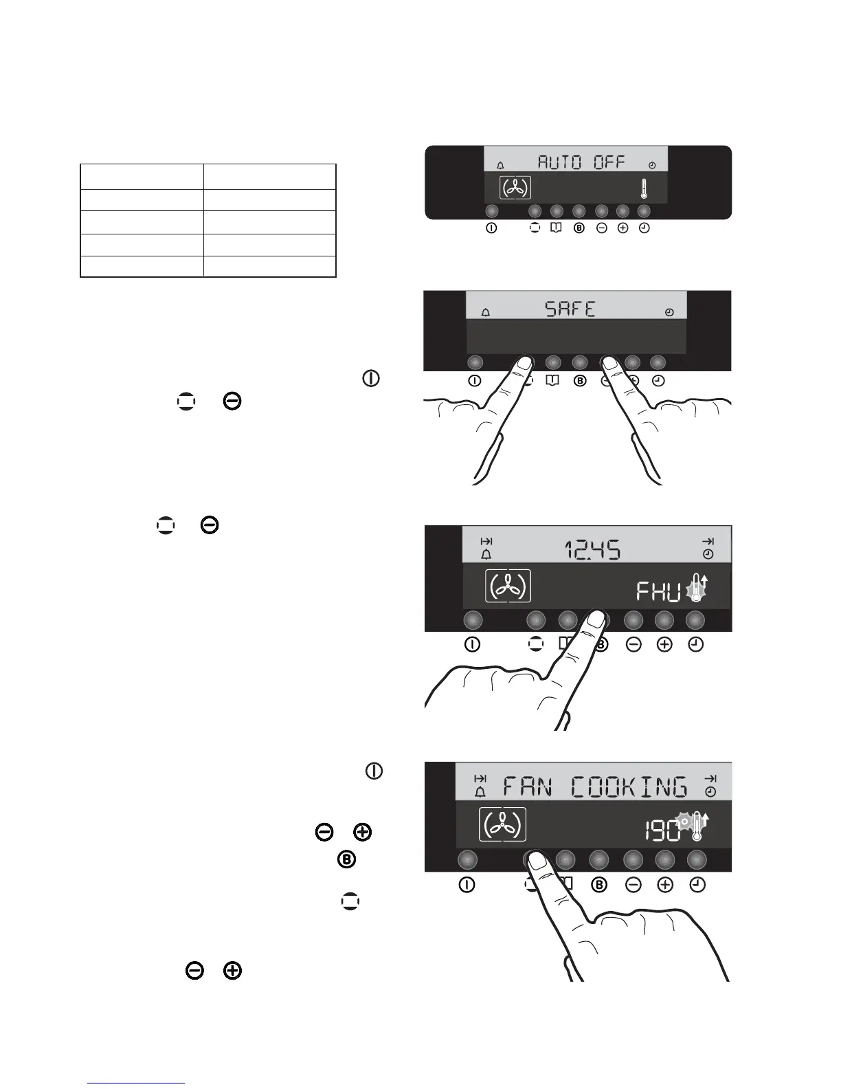
Safety Cut-Off Function
The oven will switch off automatically if any change of
setting is made, according to the table below (Fig. 16).
If temperature setting is: the oven will switch off:
250°C after 3 hours
from 200 up to 245°C after 5
1
/
2
hours
from 120 up to 195°C after 8
1
/2 hours
less than 120°C after 12
hours
Child Safety Function
To avoid children switching on the oven, it is possible to
lock the oven controls.
1. If the oven is on, switch if off by pressing button .
2. Press buttons and
at the same time and keep
them pressed for about 3 seconds. The Electronic
Control beeps once and the message ‘SAFE’ appears
in the display (Fig. 17).
3. The oven is now locked. Neither oven functions nor
temperatures can be selected.
To unlock the oven:
Press buttons and
at the same time and keep them
pressed for about 3 seconds. The Electronic Control beeps
once and the message ‘SAFE’ disappears. The oven can
now be operated.
!
"Fast Heat Up" function
(Booster)
After a cooking function has been selected and the
temperature has been adjusted, the cavity will gradually
heat up until the selected temperature is reached. This will
take from 10 to 15 minutes, depending on selected
function and temperature.
If it is necessary to reach the required temperature in a
shorter time, the fast heat up function can be used.
1. Switch the oven on by pressing the "ON/OFF" button .
2. Set the required cooking function and temperature as
described in the previous pages.
3. Set the temperature by pressing button
or
.
4. Press the "Fast Heat Up Function" button . The
temperature display shows "FHU" (Fig. 18).
5. If you press the "Cooking Function" button
, the
temperature display reverts to the selected temperature
and symbol
"""
flashes for 5 seconds (Fig. 19). During
this intervel, you can adjust the temperature setting by
pressing button
or
.
6. When the required temperature is reached, the
Electronic Control beeps for a short time, and the
temperature display reverts to the selected temperature.
This function can be used with any cooking function or
temperature.
!
Fig. 17
Fig. 16
Fig. 18
Fig. 19

Related product manuals