EasyManua.ls Logo

Epson 890 - Page 53

Epson 890
113 pages
Print Icon
To Next Page IconTo Next Page
To Next Page IconTo Next Page
To Previous Page IconTo Previous Page
To Previous Page IconTo Previous Page
Loading...
4.
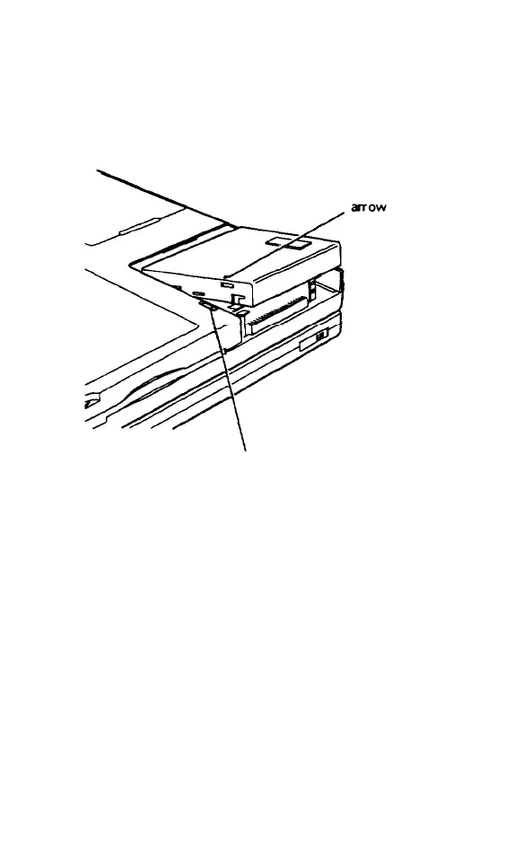
Position the drive cover over the
compartment so that the small arrow on
the cover aligns with the first notch in the
latch Lower the cover and then slide it
until it snaps shut
notch
5.
6.
Run Setup as described under
“Customizing Computer Settings” in
Chapter 6 to make sure the computer
recognizes your new drive.
After installing the operating system,
run the PHDISK utility to create a 25MB
partition on the drive. See “Using Instant
On and Saving to Disk” in Chapter 6 for
more information.
5-6 Upgrading Internal Components

Table of Contents

Related product manuals