EasyManua.ls Logo

Epson LQ-570e - Default Chapter; Control Panel Buttons and Lights

Epson LQ-570e
248 pages
Print Icon
To Next Page IconTo Next Page
To Next Page IconTo Next Page
To Previous Page IconTo Previous Page
To Previous Page IconTo Previous Page
Loading...
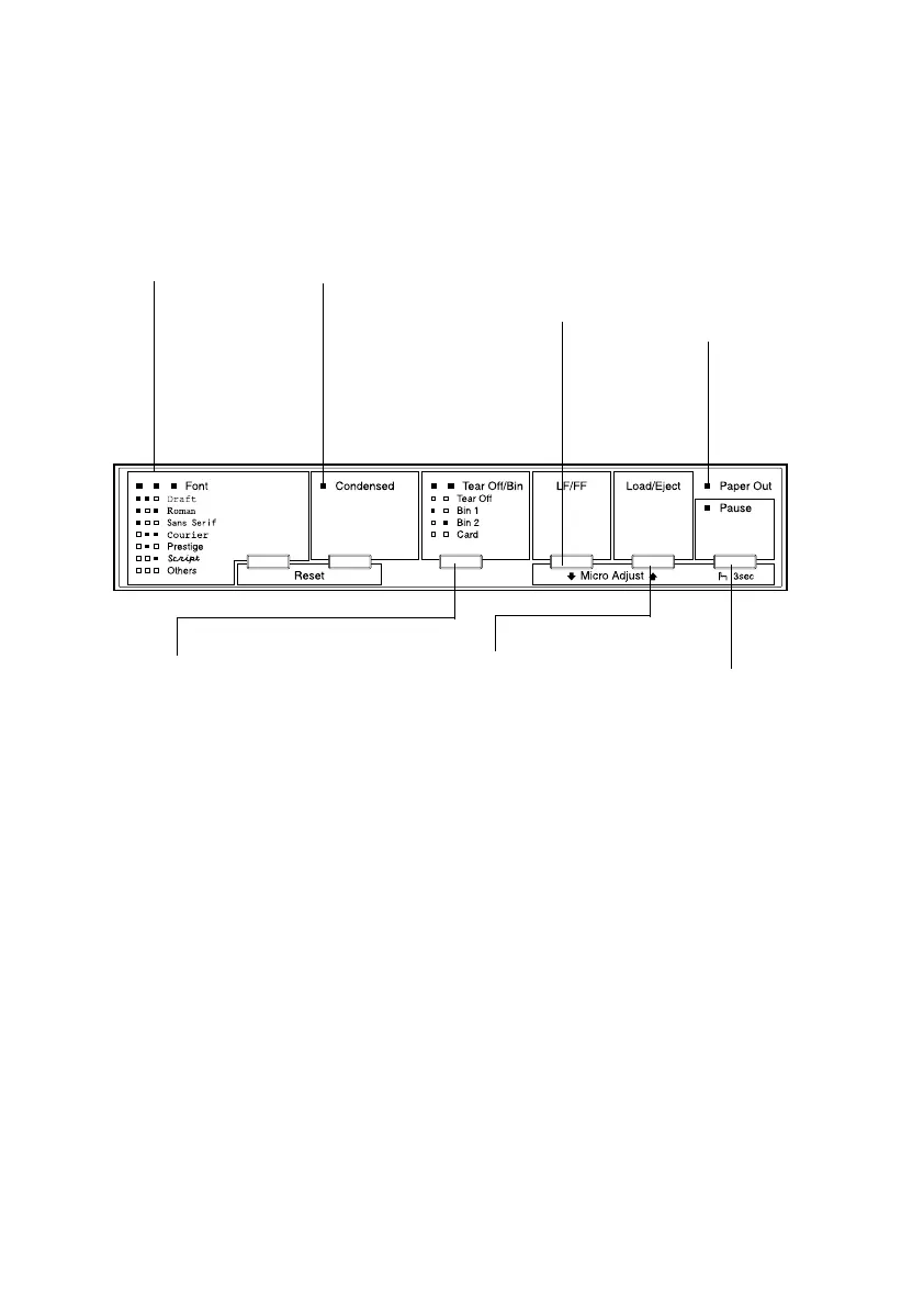
Control Panel Buttons and Lights
n = On
f = Flashing
o = Off
Tear Off/Bin button
Advances continuous paper to the
tear-off position.
Feeds continuous paper backward
from the tear-off position to the top-
of-form position.
Selects a cut-sheet feeder bin when
the cut-sheet feeder is installed.
Turns on the card mode to print on
postcards and envelopes. See
Chapter 3.
Tear Off/Bin lights
f f
when continuous paper is in the
tear-off position.
o n
when bin 1 of the optional cut-
sheet feeder is selected.
n o
when bin 2 of the optional cut-
sheet feeder is selected.
n n
when the printer is in the card
mode.
*Micro Adjust mode
When you hold down the Pause button for three
seconds, the printer enters the micro adjust mode. In
this mode, you can press the LF/FF
D
and Load/Eject
U
buttons to adjust the top-of-form or tear-off position.
See Chapter 2.
Pause button
Stops printing temporarily,
and resumes printing
when pressed again.
When pressed for three
seconds, turns on the
*micro adjust mode. To
turn off, press again.
Pause light
On when the printer is
paused.
Flashes when the
printer is in the *micro
adjust mode.
Flashes when the print
head has overheated.
Font button
Selects the font.
See Chapter 5.
Font lights
Indicate which
font is selected.
Paper Out light
On when no paper is
loaded in the
selected paper
source or paper is not
loaded correctly.
Flashes when paper
has not been fully
ejected or a paper
jam has occurred.
LF/FF button
Feeds paper line by
line when pressing
shortly.
Ejects a single sheet
or advances
continuous paper to
the next top-of-form
position when held
down.
Load/Eject button
Loads a single sheet of
paper.
Ejects a single sheet of
paper if a sheet is
loaded.
Loads continuous paper
from the standby
position.
Feeds continuous paper
backward to the
standby position.
Condensed button
Turns on and off the
condensed mode.
Condensed light
Lights up when the
condensed mode is
on.

Table of Contents

Other manuals for Epson LQ-570e

Related product manuals