EasyManua.ls Logo

Epson WF-2950 - Page 17

Epson WF-2950
330 pages
Print Icon
To Next Page IconTo Next Page
To Next Page IconTo Next Page
To Previous Page IconTo Previous Page
To Previous Page IconTo Previous Page
Loading...
17
3 Control panel
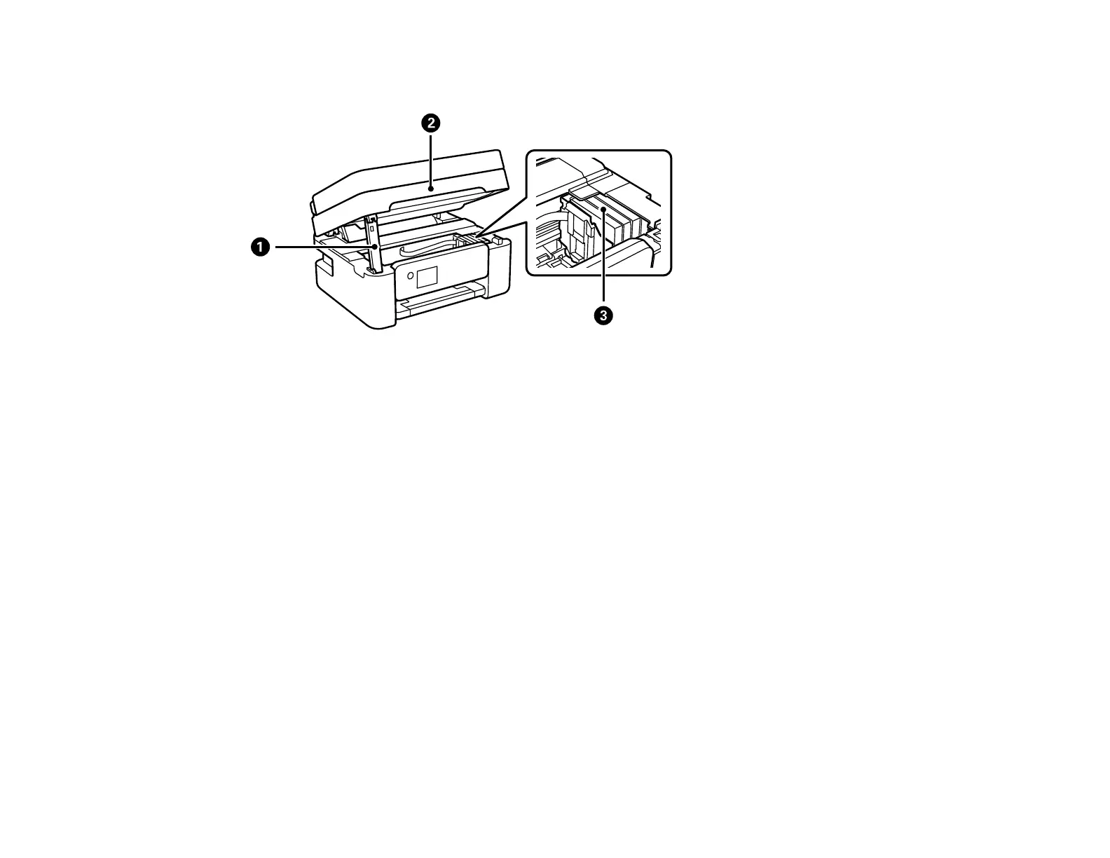
1 Scanner unit support
2 Scanner unit
3 Ink cartridge holder (do not remove)
Parent topic: Product Parts Locations

Table of Contents

Other manuals for Epson WF-2950

Related product manuals