EasyManua.ls Logo

ESP MAGPRO16 - Page 37

ESP MAGPRO16
55 pages
Print Icon
To Next Page IconTo Next Page
To Next Page IconTo Next Page
To Previous Page IconTo Previous Page
To Previous Page IconTo Previous Page
Loading...
MAGPRO16 Addressable Fire Alarm Panel Installation and Programming Manual
37
FIRE ZONE GROUP - Activation from a zone in fire alarm included in a group. Set a group number.
FIRE (common) - Activation in case of fire alarm event in the system.
FAULT ZONE - Activation from a zone in fault. Set a zone number.
FAULT ZONE GROUP - Activation from a zone in fault included in a group. Set a group number.
FAULT (common) - Activation in case of fault event in the system.
FAULT SYSTEM - Activation in case of fault system event in the system.
PREALARM - Activation in case of preliminary alarm fire alarm event.
DISABLE (common) - Activation in case of disablement in the system.
SOUNDER ON - Activation in case of sounder activation in the system.
RESET - Activation in case of reset in the system.
EVACUATE - Activation in case of evacuation event in the system.
SILENCE BUZZER - Activation in case of silence buzzer in the system.
SILENCE ALARM - Activation in case of silence alarm in the system.
TEST - Activation in case of test in the system.
In addition the following fields are accessible for editing:
(2) LOGIC - Press the functional button (2) to switch over AND - OR logic for operation.
(3) DELAY - The setting is common for all activation types. Enter time delay 0-600 sec. Use the left and right arrows to
switch over the ACTIVATION and DELAY fields.
(4) BEHAVIOR CHANGE - Press the functional button (4) to set the behavior Latched or Unlatched.
The set activation event is confirmed with ENTER button. Exit to the main screen for device setup is done with
CANCEL button.
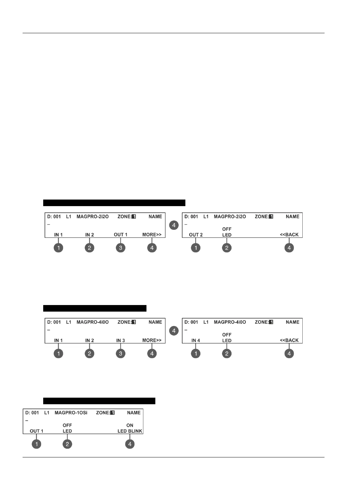
MAGPRO-2i2O Module with 2 inputs and 2 outputs
Use the functional buttons to set parameters for inputs and outputs.
The programming is same for all of the outputs/ inputs.
For the settings of the ‘IN 1/2 refer to the submenu of MAGPRO-Mini.
For the settings of the OUT 1/2 refer to the submenus of MAGPRO-0i4O.
(2) ON/ OFF LED Press to switch on/ off the device LED.
MAGPRO-4i0O Module with 4 inputs
The input numbers correspond to the functional number buttons. The programming is same for all of the inputs.
For the settings of the ‘IN 1/2/3/4’ refer to the submenu of MAGPRO-Mini.
(2) ON/ OFF LED Press to switch on/ off the device LED.
MAGPRO-1OSi Module potential output
The modules is used for connection of conventional sounders. Use
the functional buttons to set the following parameters:
(1) OUT 1 Set the parameters for the output see the description
of module MAGPRO-0i4O.
(2) ON/ OFF LED Press to switch on/ off the device LED.
(4) ON/ OFF LED BLINK Alternatively changes the status of the
device LED indication.

Table of Contents

Related product manuals