EasyManua.ls Logo

ESPEC EHS-211 - Remote Test Setup Configuration Example

ESPEC EHS-211
50 pages
Print Icon
To Next Page IconTo Next Page
To Next Page IconTo Next Page
To Previous Page IconTo Previous Page
To Previous Page IconTo Previous Page
Loading...
Chapter 4 Example Applications
4.2 To Edit Test Setup from Computer
Test setup can be changed from a computer using the setting commands (see
"3.3 Setting Commands").
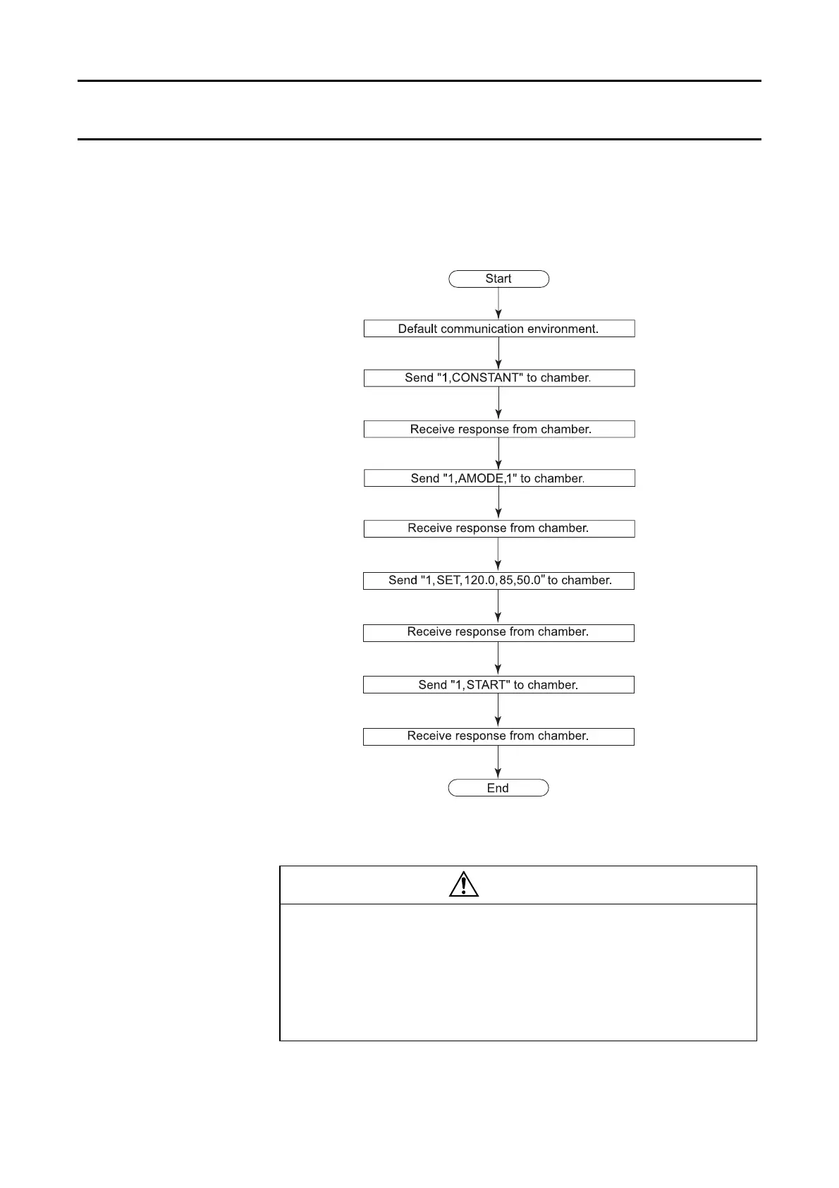
The below flowchart shows how to set target temperature to 120°C, target
humidity to 85%, time to 50 h in the constant mode.
Fig. 4.2 Sample program 2
DANGER
Before starting operation from remote, check the
situation around the chamber is completely safe. In
particular, check the following.
That the door is closed and locked.
That water in the drainage tank is higher than the low water level
but not completely full.
43

Table of Contents

Related product manuals