EasyManua.ls Logo

FCI FLT93B - Page 21

FCI FLT93B
106 pages
Print Icon
To Next Page IconTo Next Page
To Next Page IconTo Next Page
To Previous Page IconTo Previous Page
To Previous Page IconTo Previous Page
Loading...
FLT
®
Series FlexSwitch
TM
INSTALLATION
Fluid Components International LLC 15
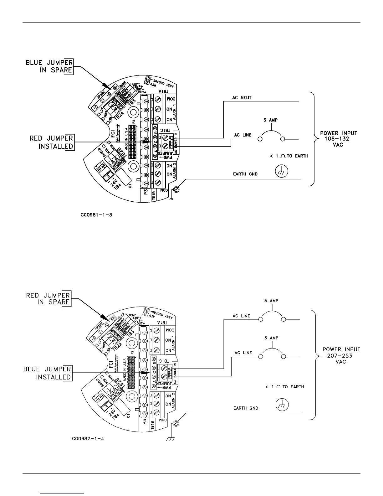
Figure 2-8 120 VAC Input Power Wiring Diagram
Figure 2-9 230 VAC Input Power Wiring Diagram

Related product manuals