EasyManua.ls Logo

FORST XR8P - Page 52

FORST XR8P
59 pages
Print Icon
To Next Page IconTo Next Page
To Next Page IconTo Next Page
To Previous Page IconTo Previous Page
To Previous Page IconTo Previous Page
Loading...
P a g e | 51
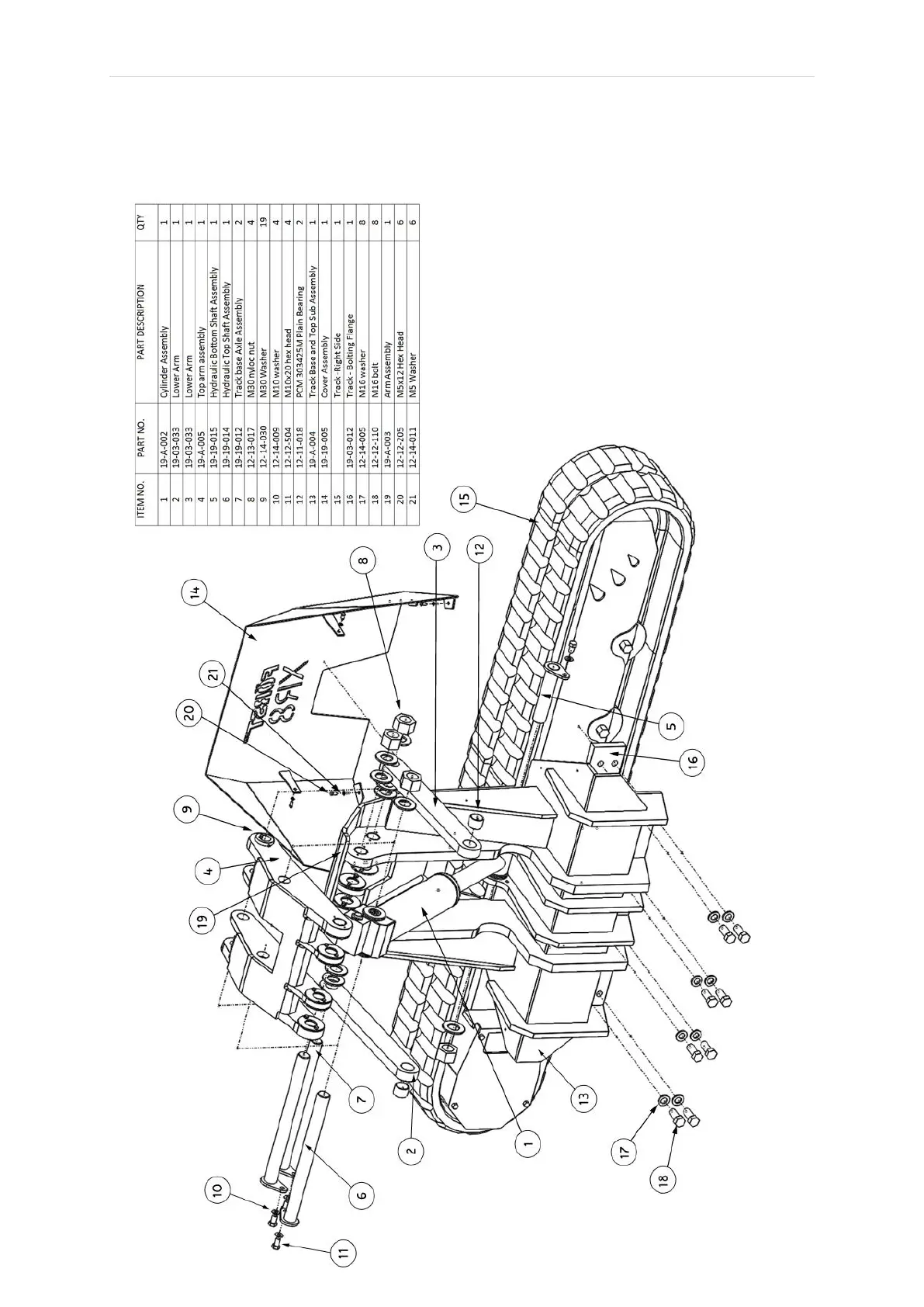
Traxion Track Base

Related product manuals