EasyManua.ls Logo

Fujitsu ARGA18FMTA - Page 92

Fujitsu ARGA18FMTA
128 pages
Print Icon
To Next Page IconTo Next Page
To Next Page IconTo Next Page
To Previous Page IconTo Previous Page
To Previous Page IconTo Previous Page
Loading...
- 37 -
DUCT TYPE
ARGA30-60F
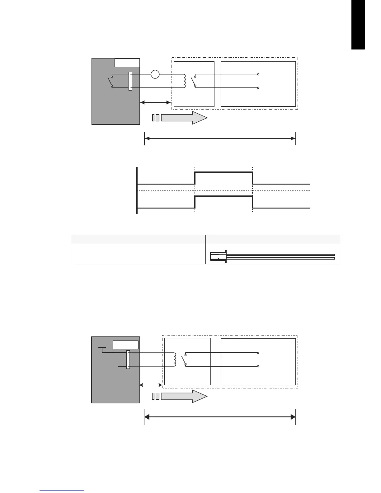
Error status output
Circuit diagram example
*: Make the distance from the PCB to the connected unit within 10 m.
Relay spec: Max. DC 24 V, 10 mA to less than 500 mA.
Optional part
Fresh-air control output
Signal linked to the indoor unit fan on can be output.
NOTE: In cold-air prevention control operation, the signal becomes off.
Circuit diagram example
*: Make the distance from the PCB to the connected unit within 10 m.
Relay spec: Rated DC 12 V, 50 mA or less.
Model name Exterior
UTD-ECS5A
External output wire
Locally purchased
Example: Display
Indoor unit
control PCB
Connected unit
Example:
Relay unit
1
2
Signal
Relay
power
supply
V
Connector
*10 m
DC 24 V
On
Off
Operation
Stop
Indoor unit
Output signal
Locally purchased
Indoor unit
control PCB
Connector
1
12 V
on/off
2
Signal
Relay
power
supply
Example: Fan
Connected unit
Example:
Relay unit
*10 m

Related product manuals