EasyManua.ls Logo

Furuno FCR-2829 - 2.13 How to Suppress Second-trace Echoes; 2.14 Presentation Modes

Furuno FCR-2829
541 pages
Print Icon
To Next Page IconTo Next Page
To Next Page IconTo Next Page
To Previous Page IconTo Previous Page
To Previous Page IconTo Previous Page
Loading...
2. RADAR, CHART RADAR OPERATION
2-14
2.13 How to Suppress Second-trace Echoes
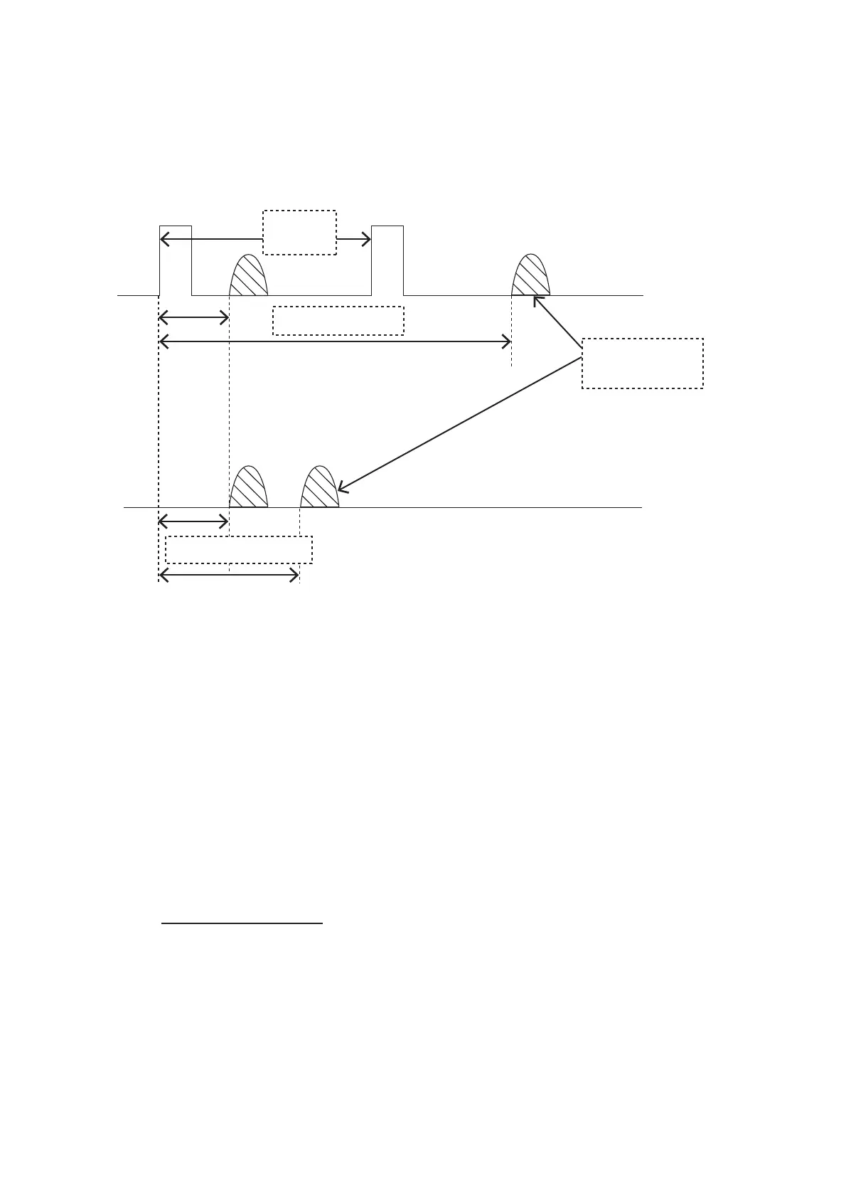
In certain situations, echoes from very distance targets may appear as false echoes
(second-trace echoes) on the screen. This occurs when the return echo is received
one transmission cycle later, or after a next radar pulse has been transmitted.
This equipment lengthens the pulse repetition period to reject the false echoes.
Note: This function decreases the number of echoes hits. Carefully use this function
so that the possibility of detecting small targets and high-speed craft does not lessen.
To reject second-trace echoes, open the [1 ECHO] menu then set [5 2ND ECHO REJ]
(B type) or [4 2ND ECHO REJ] (IMO and A types) to [ON] then close the menu.
2.14 Presentation Modes
This radar has the following orientation modes in the radar mode:
2.14.1 Orientation modes
This radar has the following orientation modes in the radar mode:
Relative Motion (RM)
Head-up: Unstabilized.
STAB H UP: Head-up with compass-stabilized bearing scale (True Bearing) where
the bearing scale rotates with the compass reading.
Course-up: Compass-stabilized relative to ship's orientation at the time of selecting
course-up.
North-up: Compass-stabilized with reference to North.
Stern-up: Unstabilized.
Pulse
interval
Actual ranges
Second-trace
echo
Measured ranges

Table of Contents

Other manuals for Furuno FCR-2829

Related product manuals