EasyManua.ls Logo

FUTABA CGY755 - Page 82

FUTABA CGY755
112 pages
Print Icon
To Next Page IconTo Next Page
To Next Page IconTo Next Page
To Previous Page IconTo Previous Page
To Previous Page IconTo Previous Page
Loading...
83
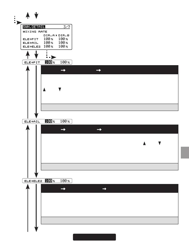
SWH. DETAIL screen 3/7
From 2/7
Go to 4/7 from any cursor position
(7) ELE PIT: elevator collective pitch mixing rate
During back and forward elevator inputs at middle collective, check if the
swash plate is raising or lowering during the input. If it is moving use the
[
/+] or [ /-] key to raise or lower the swash plate to match the middle
point during elevator inputs. Note: This setting can not be used when
H4-00 swash mode is selected.
Setting ranges: 30 ~ 150% Initial value: H3-120 = 50%, except H3-120 = 100%
(8) ELE AIL: elevator aileron mixing rate
While moving the elevator back and forth at middle collective, check to
make sure the aileron axis is staying level. Use the [
/+] or [ /-] key to
raise or lower to level the swash plate so that it remains level during full
forward and back elevator input. Note: This setting can not be used
when H4-00 swash mode is selected.
Setting ranges: 30 ~ 150% Initial value: H3-120 = 50%, except H3-120 = 100%
(9) ELE ELE2: elevator 2nd elevator mixing rate
This parameter adjusts the elevator to 2nd elevator mixing rate. The
rate can be adjusted separately for up and down directions individually.
Note: This setting is only available if the H4-xx swash mode has been
selected.
Setting ranges: 30 ~ 150% Initial value: 100%

Related product manuals