EasyManua.ls Logo

GE ASTAT XT QT 0008U Series - Inside Delta Configuration; General Information and Notes on Inside Delta

GE ASTAT XT QT 0008U Series
123 pages
Print Icon
To Next Page IconTo Next Page
To Next Page IconTo Next Page
To Previous Page IconTo Previous Page
To Previous Page IconTo Previous Page
Loading...
74 • Application diagrams
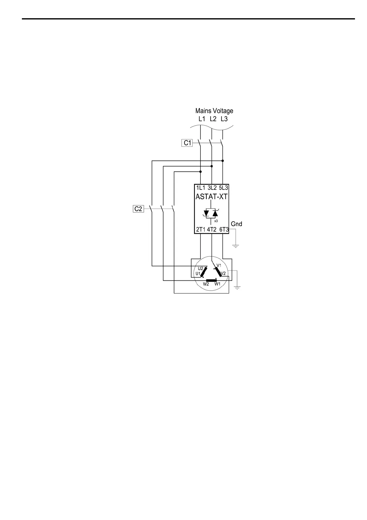
8.20 Inside Delta Configuration
8.20.1 General Information
When the AS
TAT-XT is installed Inside Delta, the individual phases of the ASTAT-XT are connected in series with the
individual motor windings (6 conductor connections as with the star-delta starter). The ASTAT-XT must only conduct
about 58 % (=1\3) of the rated motor current. This allows the use of a significantly smaller ASTAT-XT.
Note that although when connected Inside Delta the current is reduced by 1.73 (3), you should choose an ASTAT-
XT as if current is reduced only by 1.5. (1/1.5=0.667=67%)
For example:
For a motor with a rated current of 870A motor, a 950A starter will be selected to operate In-Line.
For Inside Delta ASTAT-XT, we calculate (870 x 67% = 580A) and select a 580A starter.
8.20.2 Notes on Inside Delta Connection
Inside Delta
requires 6-wires to the motor.
Wrong motor connection might cause serious damage to the motor windings.
When installing the ASTAT-XT Inside Delta it is highly recommended to use a contactor in series to the ASTAT-XT or
upstream (after motor protection) in order to avoid a damage to the motor if the ASTAT-XT short circuits.
The sinusoidal shape of the current might be imperfect. As a result, higher harmonic content is incurred (THD), which
may be twice the THD value as in the standard In-Line connection.
Motor heat may increase (due to the higher THD).
Phase sequence to the input of the ASTAT-XT (1L1, 3L2 & 5L3 terminals) must be correct. Otherwise, Phase
Sequence fault will trip the ASTAT-XT immediately.
Higher torque can not be obtained.
The following factory preset features and functions are not active when Inside Delta mode is configured:
Kickstart
Soft Start Curve selection (Soft Start Curve 0 !! only).
Energy Saving and Slow Speed TRQ. (energy save and slow speed)
Phase Sequence in OFF mode
Note :
For a high starting torque process, it is recommended to use the ASTAT-XT in the In Line connection.

Table of Contents

Related product manuals