EasyManua.ls Logo

GE MAC 1200

GE MAC 1200
96 pages
To Next Page IconTo Next Page
To Next Page IconTo Next Page
To Previous Page IconTo Previous Page
To Previous Page IconTo Previous Page
Loading...
GE
Medical
Systems
Information
Technologies
MAC
1200
V
1.2
Page
8
227
492
21
RevF
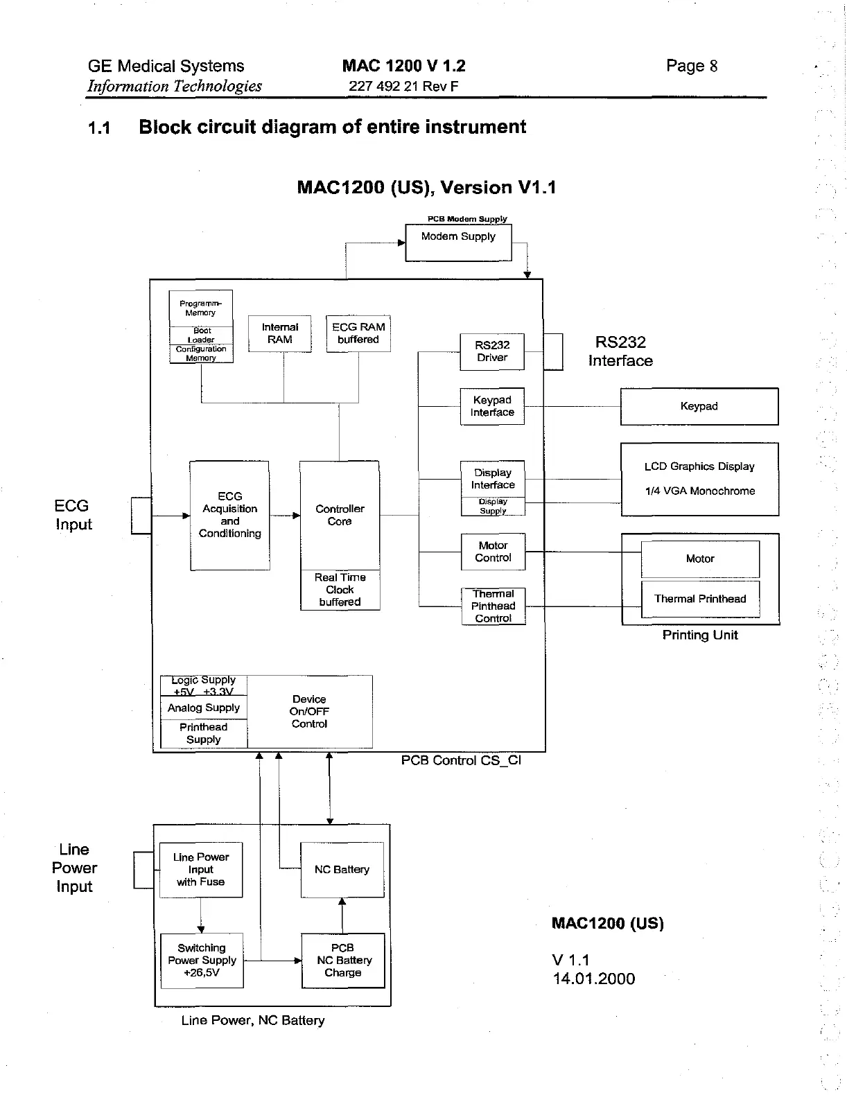
1.1.
Block
circuit
diagram
of
entire
instrument
MAC1200
(US),
Version
V1.1
|
|
PCB
Modem
Supply
Modem
Supply
Programm
Memory
Boot
Internal
ECG RAM
Loader
RAM
buffered
Configuration
ECG
Input
Line
Power
E
Input
RS232
|
|
RS232
Memory
Driver
Interface
Keypad
Interface
Keypad
Display
LCD
Graphics
Display
ECG
Interface
1/4
VGA
Monochrome
AS
Display
Acquisition
Controller
Supply
"|
and
Core
Conditioning
Motor
Control
Motor
Real
Time
Clock
Thermal
i
buffered
Pinthead
Thermal
Printhead
Control
Printing
Unit
Logic
Supply
+5V_+3.3V
,
Device
Analog
Supply
On/OFF
Printhead
Control
Supply
PCB
Control
CS
CI
Line
Power
Input
ーー]
NC
Battery
with
Fuse
Ñ
MAC1200
(US)
Switching
PCB
Power
Supply
NC
Battery
V
1.1
+26,5V
Charge
14.01.2000
Line
Power,
NC
Battery

Table of Contents

Other manuals for GE MAC 1200

Related product manuals