EasyManua.ls Logo

GE RTfino/RT3200 - Page 139

GE RTfino/RT3200
311 pages
Print Icon
To Next Page IconTo Next Page
To Next Page IconTo Next Page
To Previous Page IconTo Previous Page
To Previous Page IconTo Previous Page
Loading...
RTfino/RT3200 Advantage–II/RT–x200 SERVICE MANUALGE MEDICAL SYSTEMS
P9030GX
RENEWAL PARTS
9–19
REV 14
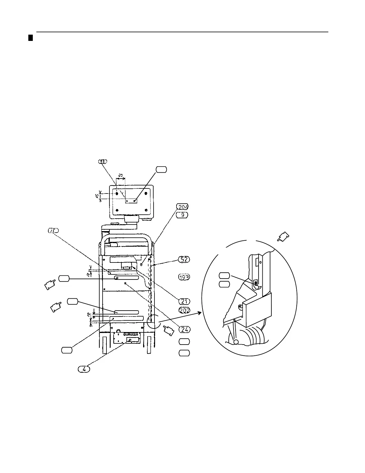
OP CONSOLE ASSY 1/4 (Continued)
204
37
36
16
10
40
39
B
B
365
200
FOR FTZ

Table of Contents

Related product manuals