EasyManua.ls Logo

GEM ps1600 - To Store a Memory; Recall Your Memory

GEM ps1600
40 pages
Print Icon
To Next Page IconTo Next Page
To Next Page IconTo Next Page
To Previous Page IconTo Previous Page
To Previous Page IconTo Previous Page
Loading...
owners manual
ps1600
Page17
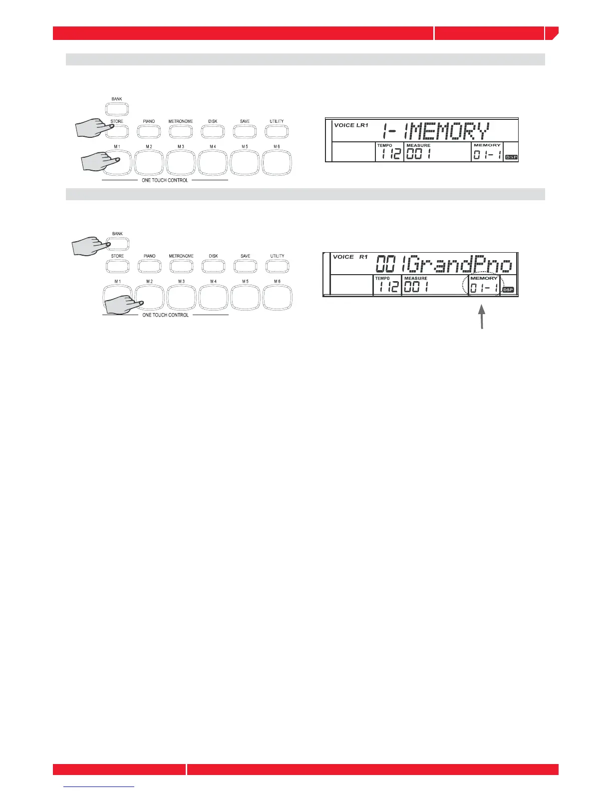
TO STORE A MEMORY
Holding down the [STORE] button and press the [M1]-[M4] button.You can store your desired
memory.
RECALL YOUR MEMORY
First select your desired memory bank and press the M1/M4 button. You can recall your desired
memory.

Related product manuals