EasyManua.ls Logo

Giabau FT-MAXI - Page 15

Giabau FT-MAXI
96 pages
Print Icon
To Next Page IconTo Next Page
To Next Page IconTo Next Page
To Previous Page IconTo Previous Page
To Previous Page IconTo Previous Page
Loading...
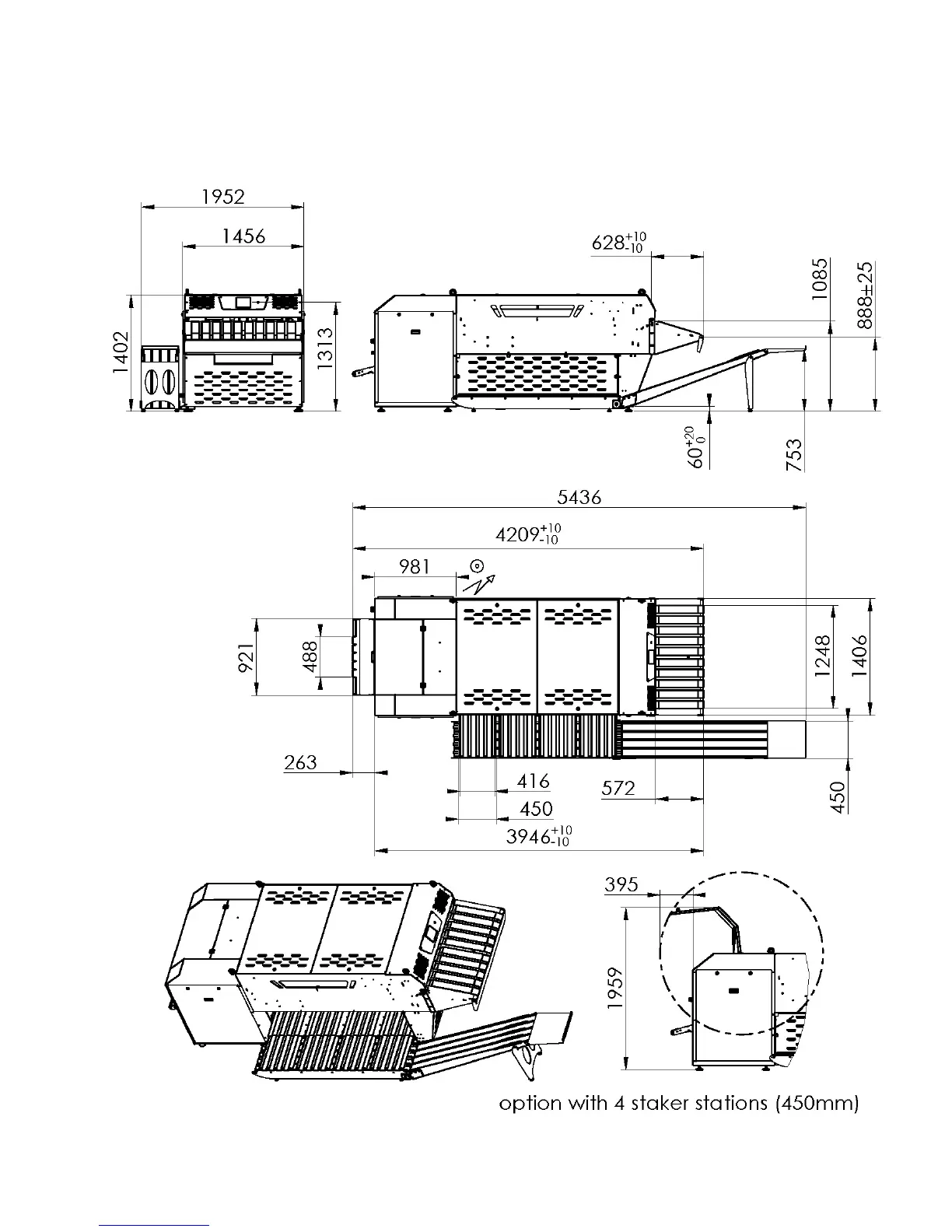
15 FT-M1211A
IM03066 - C

Table of Contents