EasyManua.ls Logo

GLOW T180 - 3.3 Installing The Water Heater; 3.4 Domestic Hot Water

GLOW T180
86 pages
Print Icon
To Next Page IconTo Next Page
To Next Page IconTo Next Page
To Previous Page IconTo Previous Page
To Previous Page IconTo Previous Page
Loading...
Glow T180
Tankless Condensing Water Heater
23
3.3 Installing The Water Heater
The appliance must be securely installed
exclusively on a vertical solid wall capable of
supporting its weight. The water heater should be
installed within the building unless otherwise protected
by a suitable conditioned enclosure, i.e. garage.
Δ If the water heater is installed in an unheated area
it is recommended to leave the ON/OFF switch
always in the ON position in order to activate the
frost protection function
Δ In order to allow access to the interior of the
water heater for maintenance purposes, it is
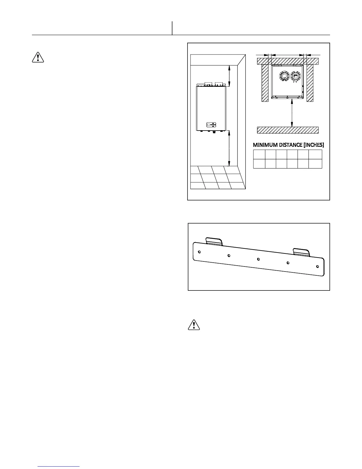
important that the minimum distances indicated
are respected. (Clearance Diagram)
When selecting the location for the placement of the
Glow T180 unit, make certain the wall can adequately
support the weight of the unit. Additional support such
as a piece of 3/4” plywood 24” by 36” may be required
To install the water heater, proceed as follows (see
Clearance Diagram):
1. Use a level to mark a horizontal line on the wall
where the water heater is to be installed.
2. Position the support bracket (see g. 3.3) which
is supplied with the Glow T180 water heater
above the line drawn with the level, respecting the
distances indicated. Mark the center positions of
the two wall-plugs or anchors. Finally, mark the
positions of the water lines and gas pipe.
3. Once the bracket is rmly secured to the wall.
The Glow T180 unit can now be mounted on
the support bracket. Connect the domestic hot
and cold water pipes and the gas supply pipe.
You have the option of using eld supplied NPT
service valve kit (preferred method) or eld
supplied NPT to sweat adapter along with the
relief valve and bronze tee supplied with all units.
Clearance to Combustibles:
Minimum clearance from combustible or non
combustible construction. (see g. 3.2)
Front – 0 inches
Sides – 0 inches
Rear – 0 inches
Top – 0 inches from front panel
Service clearance - 24” front of unit
A
X L Y
H
B
AX
0 0 20 24 12 12
LY H B
Figure 3.2 - Clearance Diagram
Figure 3.3 - Support Bracket
3.4 Domestic Hot Water
Warning/ Hard Water
Δ If this water heater is installed in an application
where the supply water is hard, it must be treated
with a water softener or ltration device which
removes the hardness, or by using sequestering
agents that reduce the amount of scale deposits.
Δ Damage to the water heater as a result of water in
excess of 14.5 gpg (250mg/L) of hardness is not
covered by Glow Brand Limited warranty. If there
a problem with the water quality, contact your
local water conditioning company for equipment to
condition the water supply to this appliance.