EasyManua.ls Logo

GLP JDC1 - Safety Cable Attachment

GLP JDC1
26 pages
Print Icon
To Next Page IconTo Next Page
To Next Page IconTo Next Page
To Previous Page IconTo Previous Page
To Previous Page IconTo Previous Page
Loading...
German Light Products GmbH JDC1
User Manual Rev. 1.0 9
Mounting Upright on a Level Surface
The JDC1 may be placed upright on a level surface.
Precautions shall be taken to avoid accidental
contact.
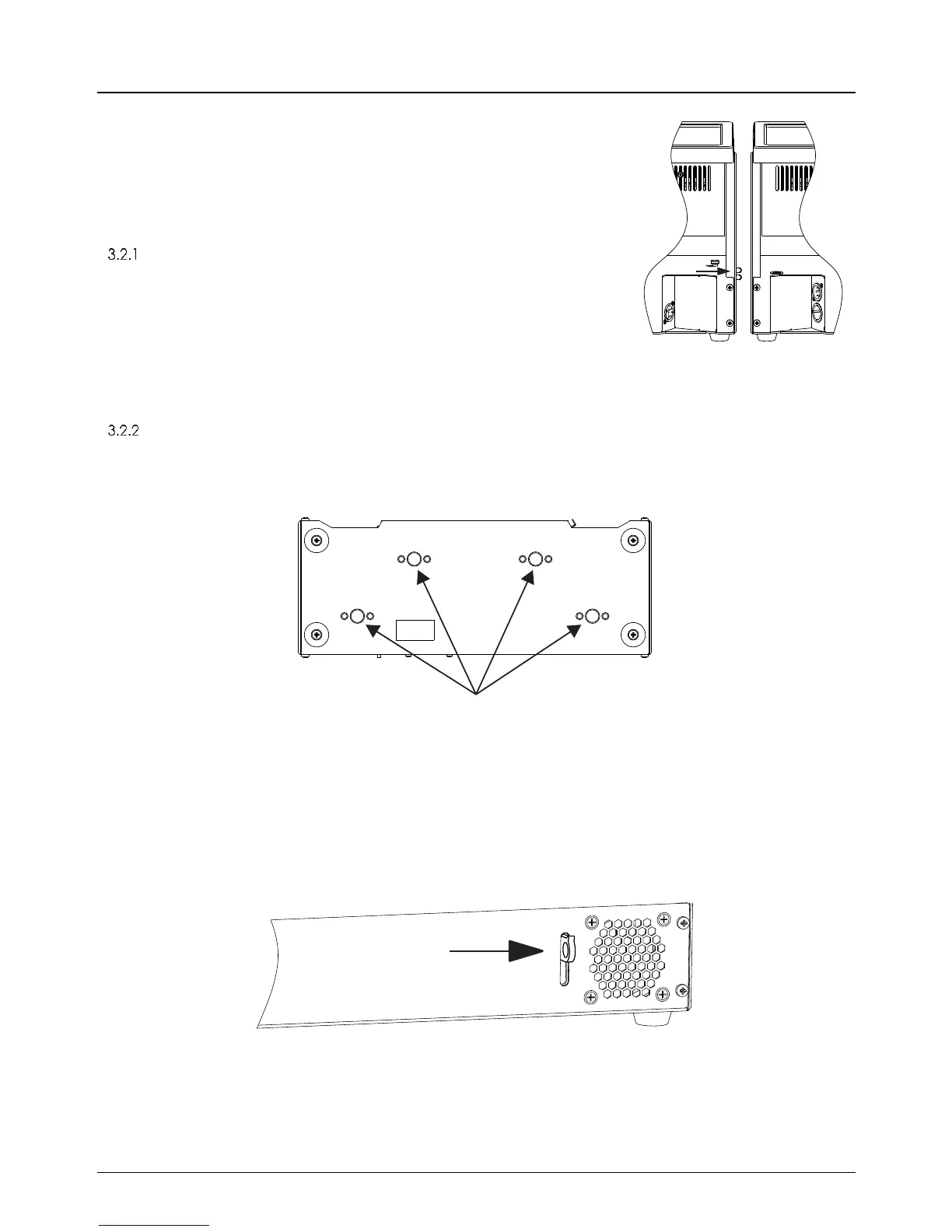
To align multiple units, insert the alignment pins on the
right side of one fixture into the alignment holes on the
left side of the next fixture.
Head Down or Sideways Truss Mounting
To hang the JDC1 with the head down or sideways,
bolt two suitable half-coupler rigging clamps to the omega clamp attachment
bracket. Fasten the bracket to the base with four Camlock quarter-turn pins.
Line up and insert the pins into the base and turn 90° clockwise to lock. Do the
opposite to release them.
Fasten the rigging clamps securely to the truss. Secure as directed in section 3.3.
3.3 Securing the Device
Warning! Use a secondary attachment (safety wire) that can hold at least 10
times the weight of the fixture whenever hanging the fixture. Clip the safety wire
to the cable eye on the back of base.
Figure 3-4: Safety Cable Attachment Point
Figure 3-3: Camlock Sockets
Figure 3-2: Alignment

Related product manuals