EasyManua.ls Logo

Graco PR70 - Enable;Disable Heat Options; Change Zone Number; Edit Temperature Settings

Graco PR70
74 pages
Print Icon
To Next Page IconTo Next Page
To Next Page IconTo Next Page
To Previous Page IconTo Previous Page
To Previous Page IconTo Previous Page
Loading...
Parts
30 312394ZAC
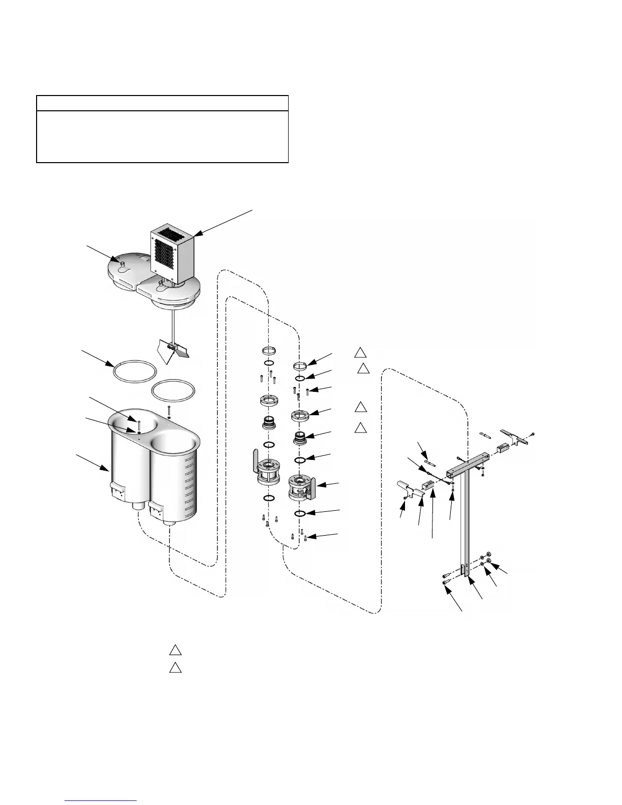
8 Liter Polyethylene Tanks
CAUTION
The electric agitators used with on-board tanks will fail
prematurely when material viscosity exceeds
24,000 cps. Use pneumatic agitators if material vis-
cosity exceeds 24,000 cps.
216
209
220
203
207
223
210
202
215
218
219
201
217
201
204
214
222
221
205
211
224
208
206
213
212
Apply thread sealant tape to male npt threads prior to installation.
Do not attempt to remove from tank. Disassembling will damage tank.
1
2
Assembly 255282 Shown
2
2
2
2
ti12450a

Other manuals for Graco PR70

Related product manuals