EasyManua.ls Logo

Graco Reactor 2 E-XP2 - Page 58

Graco Reactor 2 E-XP2
116 pages
Print Icon
To Next Page IconTo Next Page
To Next Page IconTo Next Page
To Previous Page IconTo Previous Page
To Previous Page IconTo Previous Page
Loading...
Repair
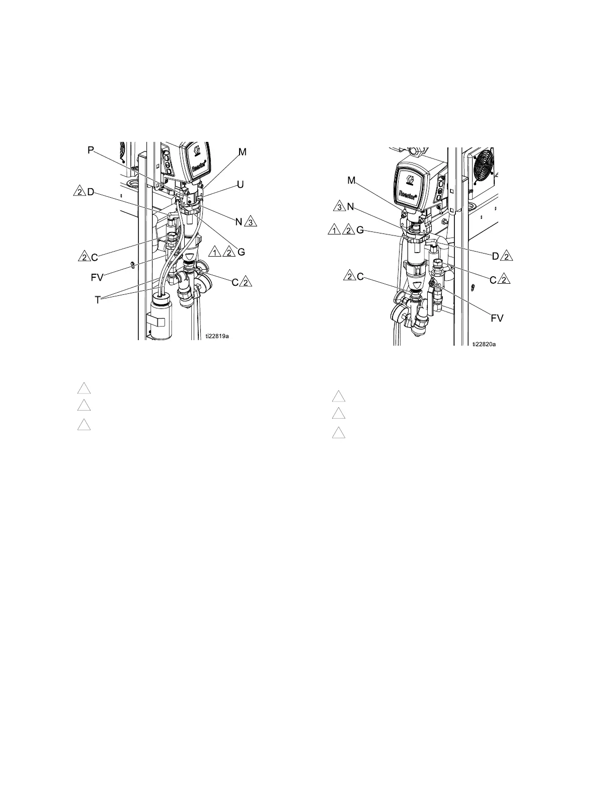
11. Loosen locknut (G) by hitting firmly with a
non-sparking hammer. Unscrew pump far
enough to expose rod retaining pin. Push
retaining wire clip up. Push pin out. Continue
unscrewing pump.
Pump A
Figure 1
1
Flat side faces up.
2
Lubricate threads with ISO oil or grease.
3
Pump top threads must be nearly flush with
bearing face (N).
Note
Steps 1
2 and 13 apply to pump B.
12. Disconnect fluid inlet (C) and outlet (D). Also
disconnect steel outlet tube from heater inlet.
13. Push retaining wire clip (E) up. Push pin (F)
out. Loosen locknut (G) by hitting firmly with a
non-sparking hammer. Unscrew pump.
Pump B
Figure 2
1
Flat side faces up.
2
Lubricate threads with ISO oil or grease.
3
Pump top threads must be nearly flush with
bearing face (N).
58 333024N

Other manuals for Graco Reactor 2 E-XP2

Related product manuals