EasyManua.ls Logo

Graco ULTRA 500 - Page 40

Graco ULTRA 500
44 pages
Print Icon
To Next Page IconTo Next Page
To Next Page IconTo Next Page
To Previous Page IconTo Previous Page
To Previous Page IconTo Previous Page
Loading...
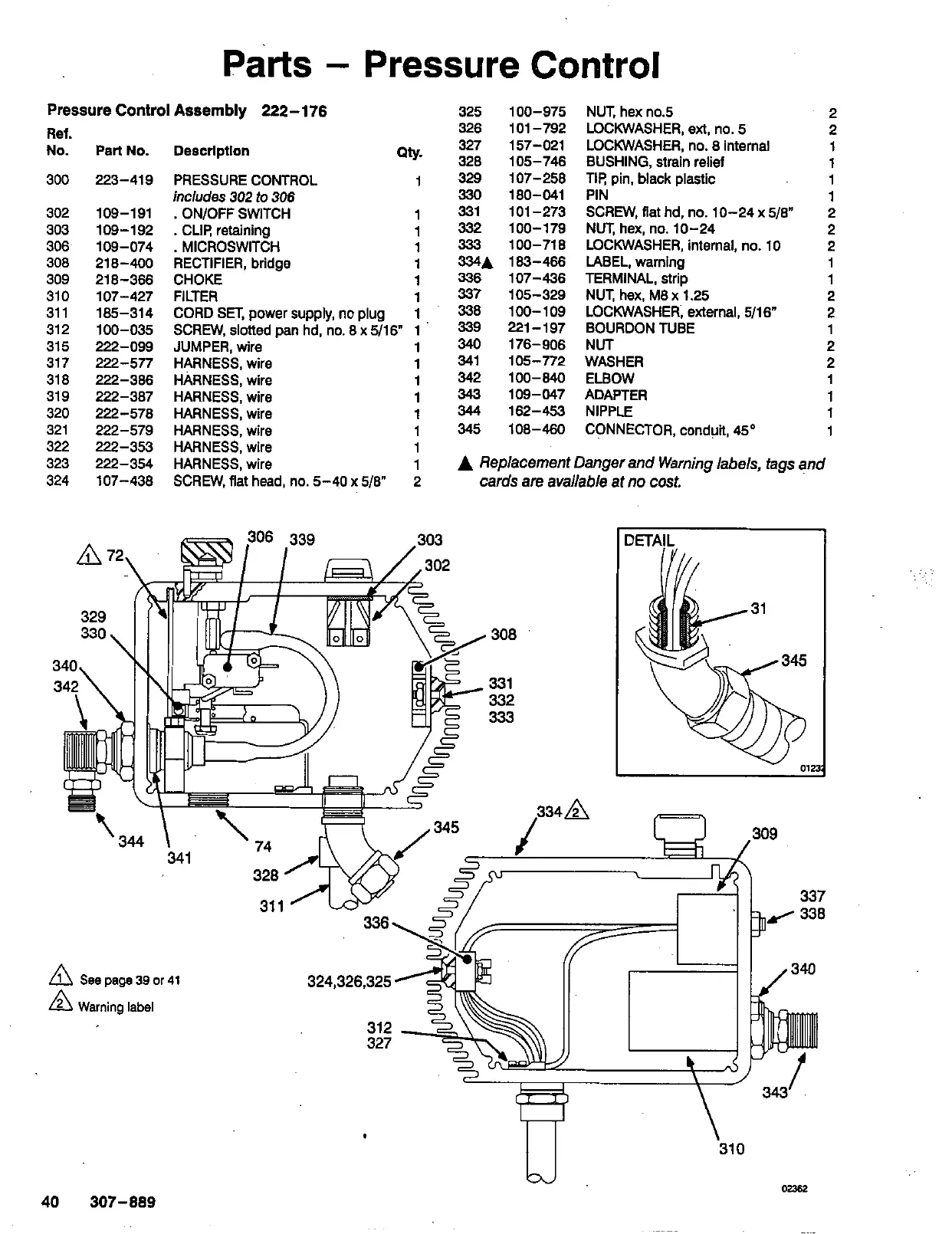
Parts
-
Pressure Control
Pressure
Control
Assembly
222-176
Ret.
No.
Part
No.
Descrlptlon
Qtv.
includes
302
to
306
300 223-419
PRESSURE CONTROL
1
1
1
1
1
1
31 1 165-314
CORD
SET,
power supply, no plug
1
1
312 100-035
SCREW, slotted pan hd, no.
8
x
5/16" 1
315 222-099
JUMPER, wire
317 222-577
HARNESS, wire
1
318 222-386
HARNESS, wire
1
319 222-387
HARNESS, wire
1
320 222-578
HARNESS, wire
1
321 222-579
HARNESS, wire
1
322 222-353
HARNESS, wire
1
323 222-354
HARNESS, wire
1
1
324 107-436
SCREW, flat head, no.
5-40
x
5/8" 2
302 109-191
.
ONlOFF SWITCH
303 109-192
.
CUP: retaining
308 218-400
RECTIFIER, bridge
306 109-074
.
MICROSWITCH
309
218-366
CHOKE
310
107-427
FILTER
325 100-975
326
101-7'92
327
157-021
328 105-746
329
107-258
330
160-041
331
101-273
332
100-179
333
100-718
334A
183-466
336
107-436
337
105-329
338
100-109
339
221-197
340
176-906
342 100-840
341 105-772
343
109-047
344
162-453
345 108-460
NUT, hex
no.5
LOCKWASHER, ext, no.
5
LOCKWASHER. no.
8
internal
BUSHING, strain relief
. ~~
TIP: pin, black plastic
PIN
SCREW,
flat
hd. no.
10-24
x
5/8"
NUT, hex, no.
10-24
LOCKWASHER, internal, no.
10
TERMINAL, strip
LABEL, warning
NUT, hex,
M8
x
1.25
LOCKWASHER, external,
5/16"
BOURDON TUBE
NUT
WASHER
ELBOW
ADAPTER
CONNECTOR, conduit,
45'
NIPPLE
A
Replacement
Danger
and Warning labels,
tags
and
cards are available at no cost.
2
2
1
1
1
1
2
2
2
1
1
2
2
2
1
2
1
1
1
1
..
..
40
307-889