EasyManua.ls Logo

Graco ULTRA 500 - Wiring Diagram

Graco ULTRA 500
44 pages
To Next Page IconTo Next Page
To Next Page IconTo Next Page
To Previous Page IconTo Previous Page
To Previous Page IconTo Previous Page
Loading...
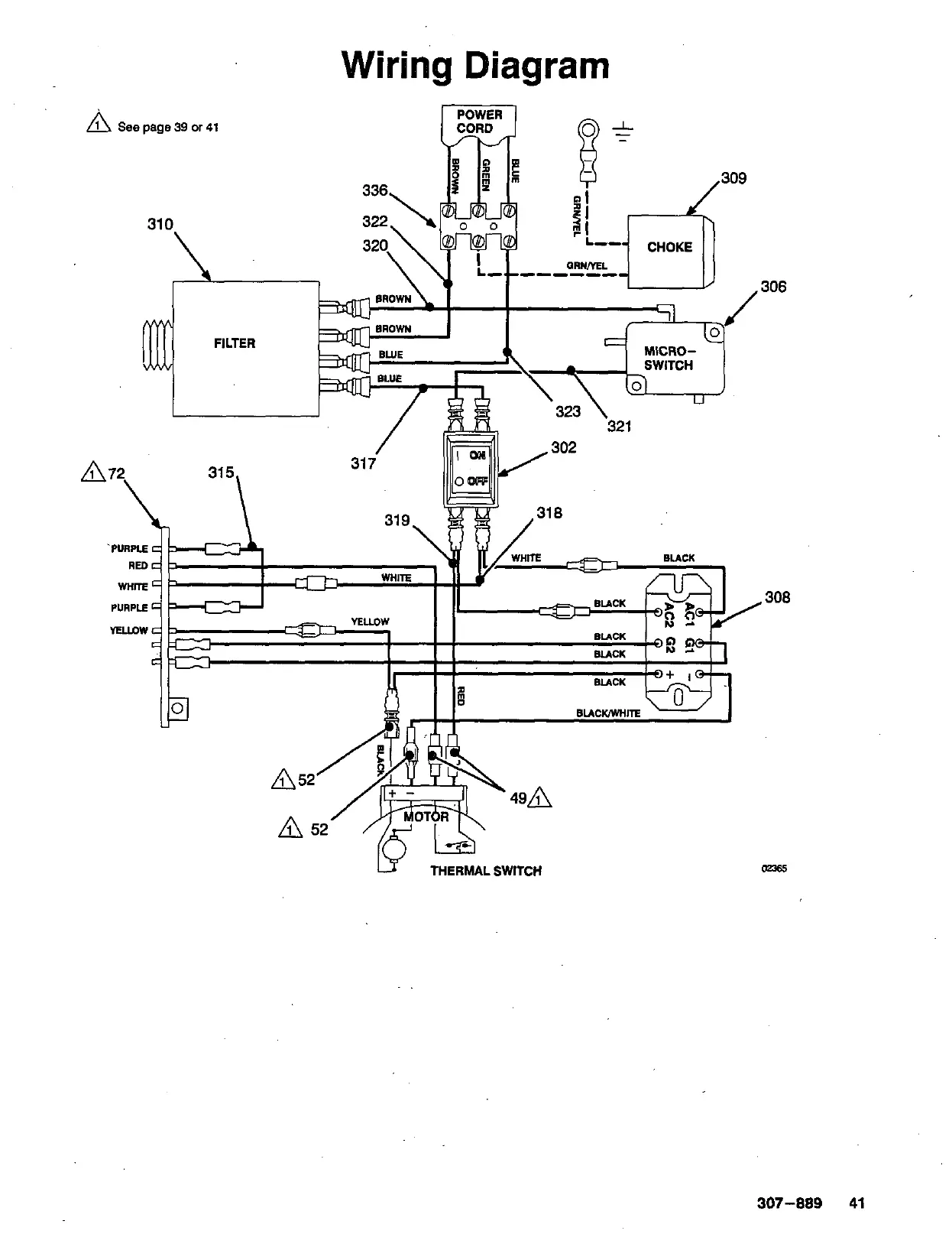
Wiring Diagram
A
see
page
39
or
41
307-889
41

Related product manuals