EasyManua.ls Logo

Gree SUPER+ MULTI ULTRA Series - Process Control Setting

Gree SUPER+ MULTI ULTRA Series
196 pages
Print Icon
To Next Page IconTo Next Page
To Next Page IconTo Next Page
To Previous Page IconTo Previous Page
To Previous Page IconTo Previous Page
Loading...
Super Free Match
Service Manual
MAINTENANCE
N
117
1.3 Process Control Setting
1.3.1 Button section
Key Fuc Enter Back
Signification Function Increase Decrease Enter Back
Caution
When entering the menu to set parameters, the function section will flash running codes and the data
section will flash the current parameters.
When the menu is set, the data section will flash “=”. After the “=” stops blinking, the unit will run the
new parameters.
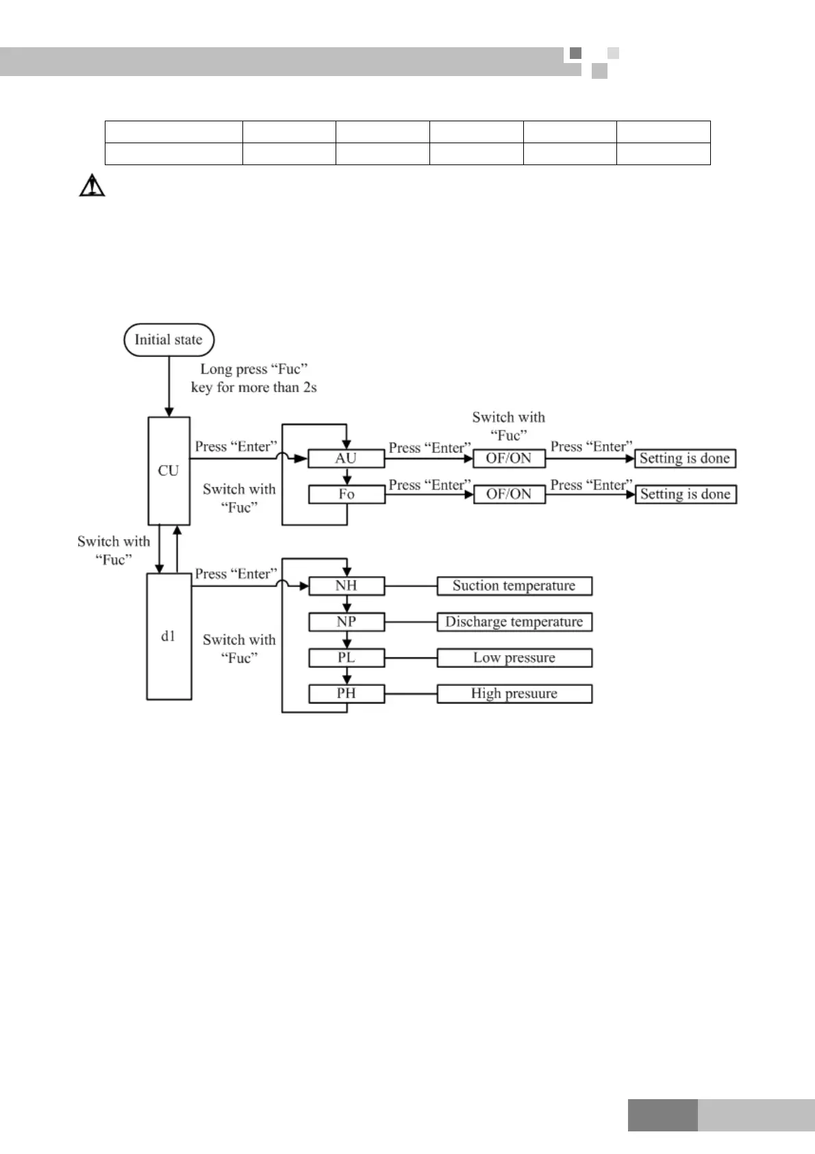
1.3.2 Flow chart of operation
Note:
Long press “Fuc” key for more than 2s to enter the
first-level menu. The first-level menu includes
control unit and display unit 1.
Press “Enter” key to enter the second-level menu.
Press “Fuc” key to switch the menu.
Press “Back” key to the previous menu.
Control unit (CU) operation:
When entering into the control unit:
The function section flashes the running code and the data section display the current parameter
uninterrupted.
Set parameters:
Press “Enter” key to enter the second-level menu, and set parameters with the “” “” keys. Now the
function section displays the running code uninterrupted and the data section flashes the set parameters.
Finish setting:
After press “Enter” key to the end, the function section will display the running code uninterrupted and the
data section display the set parameters uninterrupted.

Table of Contents

Related product manuals