EasyManua.ls Logo

Groen VRC-3E - 6.4 Electrical Components 208;240;480 Volts

Groen VRC-3E
52 pages
Print Icon
To Next Page IconTo Next Page
To Next Page IconTo Next Page
To Previous Page IconTo Previous Page
To Previous Page IconTo Previous Page
Loading...
PART NUMBER 145702, REV. C (01/07)
CALL 888-994-7636 FOR TECHNICAL SUPPORT
35
6
Call 1-800/676-9040 for Technical Support
5
PART NUMBER 145702, REV. B (7/06)
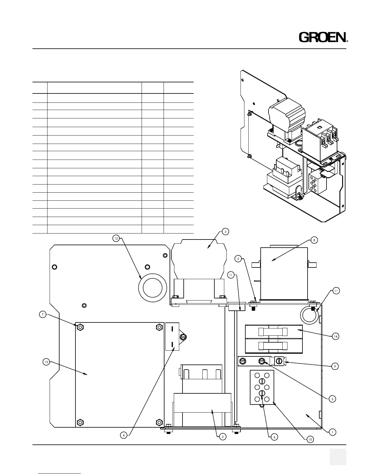
PARTS IDENTIFICATION VRC-3E
6.4 Electrical Components 208/240/480 Volts
No. Description Qty. Part No.
160488
121716
144418
096813
069789
005056
119855
148102
106412
003888
012864
097015
160649
160919
160875
160874
119856
1
1
1
1
11
2
4
1
1
1
2
1
1
1
1
1
1
1
2
3
4
5
6
7
8
9
10
11
12
13
14
15
16
17
High Voltage Panel
Transformer, 75VAC
Contactor, 3-Pole
Capacitor Foil 3 Mfd
Screw Hex Slotted Washer Head Cap
Screw Round Head 8-32 1 1/4”
Nut Lock 6-32
Contactor, 3-Pole 30Fla
Mechanical Lug, Ground, #2-#8
Terminal Block 3-Pole
Bushing Snap 11/16” I.D.
Bushing Snap 1“ I.D. x 1-3/8”
Relayboard, Steamer
Fuse Block Assy
Harness, VRC Low Voltage (not shown)
Harness, Steamer High Voltage (not shown)
480Volt Transformer (not shown)

Table of Contents

Other manuals for Groen VRC-3E

Related product manuals