EasyManua.ls Logo

Hakko Electronics FU-500 - 7. MAINTENANCE

Hakko Electronics FU-500
24 pages
Print Icon
To Next Page IconTo Next Page
To Next Page IconTo Next Page
To Previous Page IconTo Previous Page
To Previous Page IconTo Previous Page
Loading...
5
5. INITIAL SETUP
Connecting cable
to HAKKO FU-601
(Including in the HAKKO FU-601)
Connecting components
HAKKO FU-500
Feeder unit
18
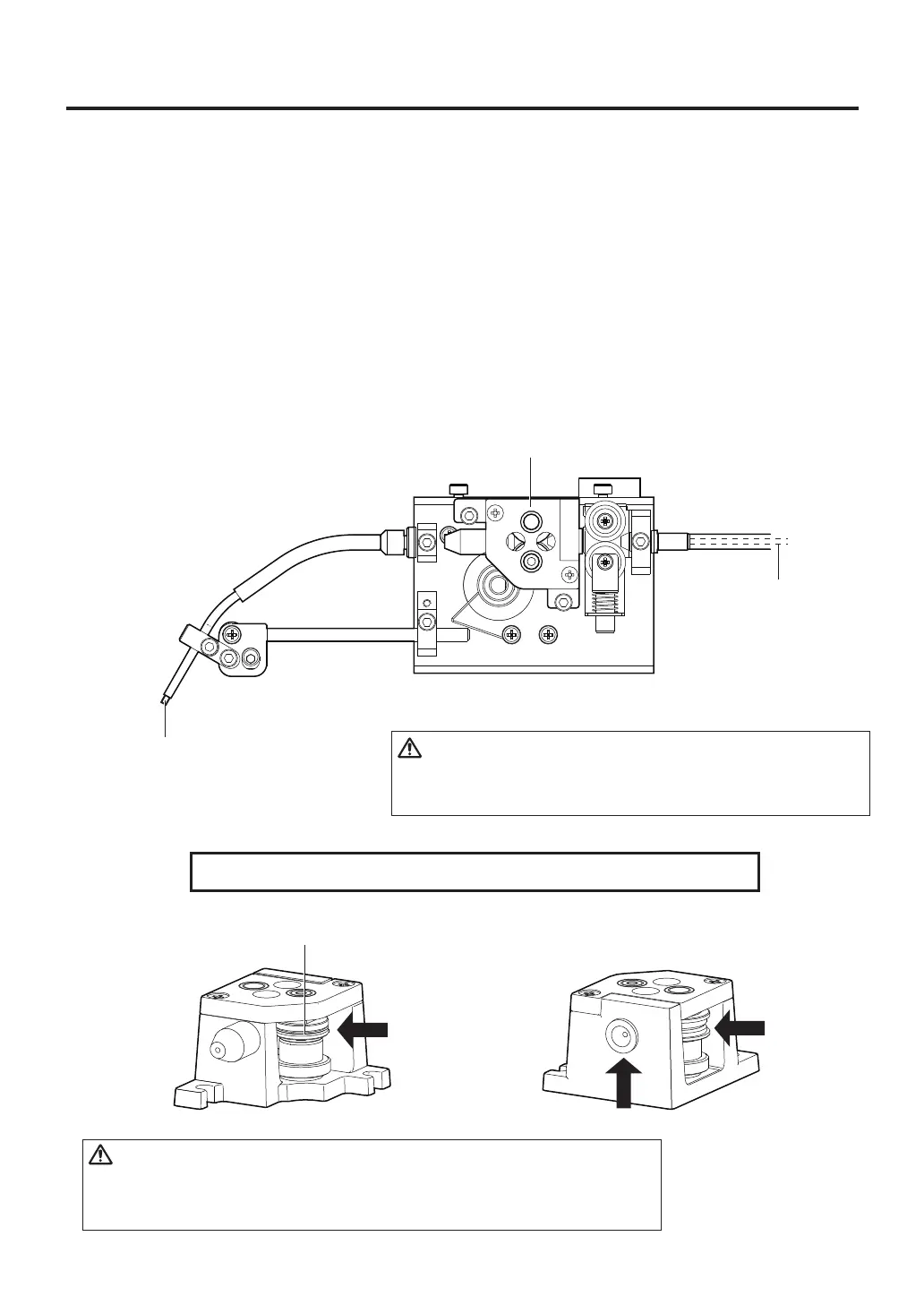
7. MAINTENANCE
Remove any solder or flux adhered on the solder feed pulley unit using a brush or other appropriate tool.
If an insufficient cutting depth or splashing of solder balls are found in spite of the proper maintenance,
the cutting blade may have reached its end of life.
Since it is impossible to replace the cutting blade only, replace the whole solder feed pulley unit.
After soldering, flux is adhered on the guide pipe part.
Regularly wipe off the flux using alcohol.
Feeder cable
Assembling the feeder unit
Install the tube unit, the solder feed pulley unit, the solder feed guide set and the teflon tube.
Tighten the screws shown in the figure below.
Draw solder through the tube unit and supply to the feeder unit.
Do not touch any screws than the hexagon
socket screws described in this manual.
The attachment of the solder feed pulley unit
for φ0.3mm (BX1000) is different.
Refer to the “How to set solder” in the BX1000.
Please be careful not to tighten the screw too much.
Tighten
Tighten
Tighten
How to set solder
For information about how to
install the teflon tube,
see page 17.
Solder feed pulley unit
Cutting blade
Use a hex wrench of 2.5 mm.
Draw solder through the tube unit and press the end of solder
against the pulley of the solder feed pulley unit.
With this condition, start the HAKKO FU-500 to feed solder
until solder comes out of the end of the teflon tube.
Pulley
Ensure that solder is reeled out of
the top of the bobbin.
CAUTION
※Secure the bending radius of
more than 10cm to prevent
solder clogging.
The solder feed pulley unit with the cutting blade is dangerous.
Be careful not to cut your fingers.
※ Only the cutting blade and the teflon tube in the tube unit
are not interchangeable.
Place which is easy to adhere the solder and flux.
Teflon tube in tube unit
Teflon tube
As a guide, perform maintenance/cleaning when replacing the solder.
CAUTION
CAUTION

Related product manuals