EasyManua.ls Logo

Hakko Electronics FU-500 - Feeder Unit Components

Hakko Electronics FU-500
24 pages
Print Icon
To Next Page IconTo Next Page
To Next Page IconTo Next Page
To Previous Page IconTo Previous Page
To Previous Page IconTo Previous Page
Loading...
4
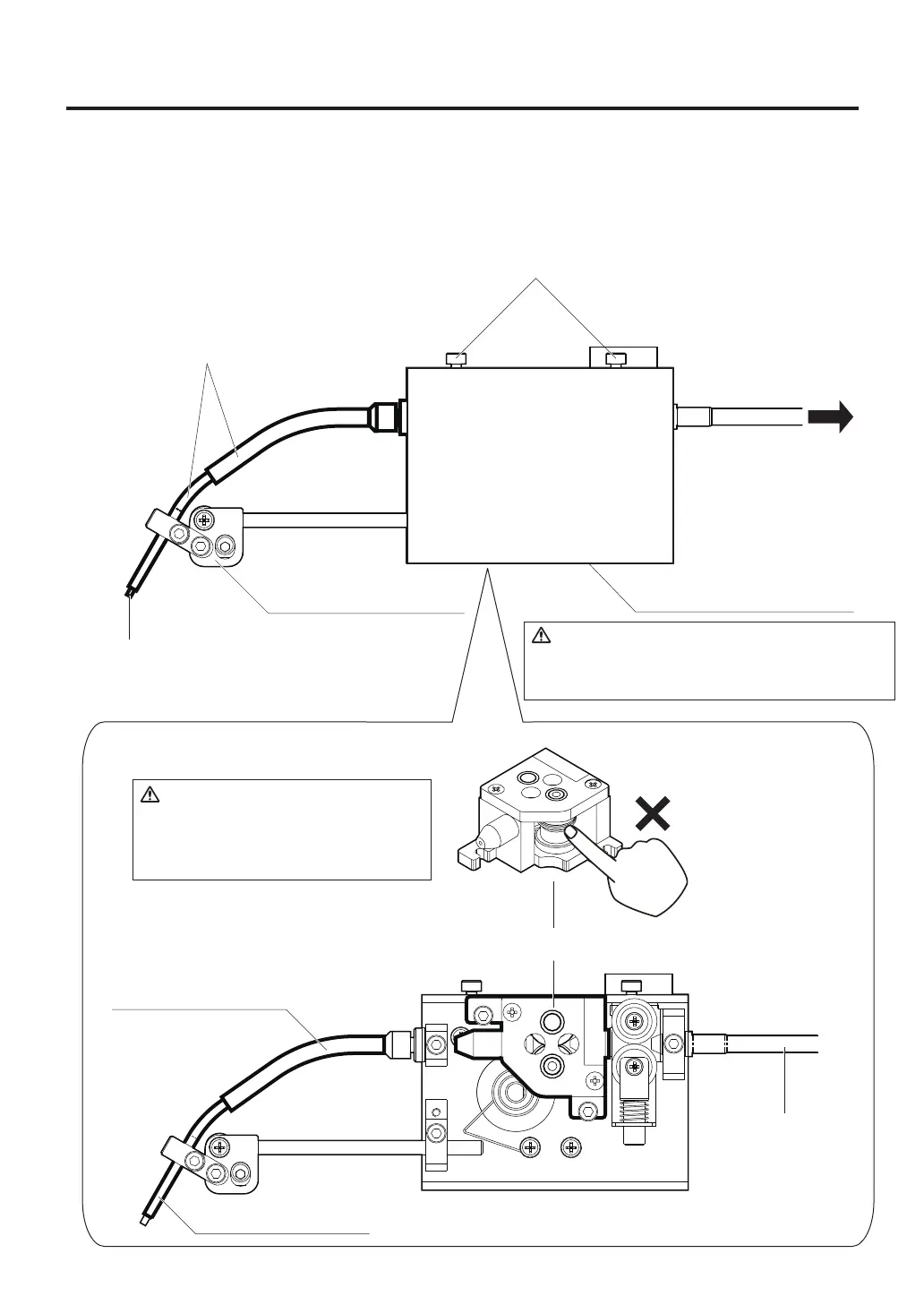
Feeder unit cover
Feeder unit cover screw
Tube unit
Solder feed pulley unit (option)
Guide tube (option)
Guide pipe (option)
Feed position adjuster
19
8. ERROR MESSAGES
Solder feed trouble error
Iron Controller Error
Illegal input error
When the solder feed sensor detects
"no solder" or "clogging", the HAKKO FU-500
will immediately stop the feed and show
this error message on the LCD along with
buzzer sound.
When an illegal input signal from the robot
is detected, the HAKKO FU-500 will
immediately stop the feed and show this
error message on the LCD along with
buzzer sound.
This error message is displayed when
the HAKKO FU-601 ready input is
"Not Ready" during Auto Mode or Manual
Program Mode.
This error will not occur in Adjustment
Mode or Continuous Feed Mode.
If the HAKKO FU-601 ready input is
"Not Ready" before Auto Mode or Manual
Program Mode is started up, the system
will not turn into error status but remain
standby status.
When this error occurs, the HAKKO FU-500
will immediately stop the feed and show this
error message on the LCD along with buzzer
sound.
Solder Feed
Trouble
Push Knob
Illegal
Input
Push Knob
Iron
Controller Error
Push Knob
To solder reel stand
Teflon tube (option)
Solder feed guide set (option)
Feeder Unit
※Make sure to attach this cover to prevent
a flux from entering into the feeder unit.
The solder feed pulley unit with
the cutting blade is dangerous.
Be careful not to cut your fingers.
CAUTION
CAUTION

Related product manuals