EasyManua.ls Logo

Harman Kardon CDR2 - PCB-1(Power) REMOVAL; Pcb-2(I;O) Removal

Harman Kardon CDR2
116 pages
To Next Page IconTo Next Page
To Next Page IconTo Next Page
To Previous Page IconTo Previous Page
To Previous Page IconTo Previous Page
Loading...
7
3
6
9 10
8 5
1
4
2
7 15 14 13
1
2
12
8
11
3
10 9
6
4
5
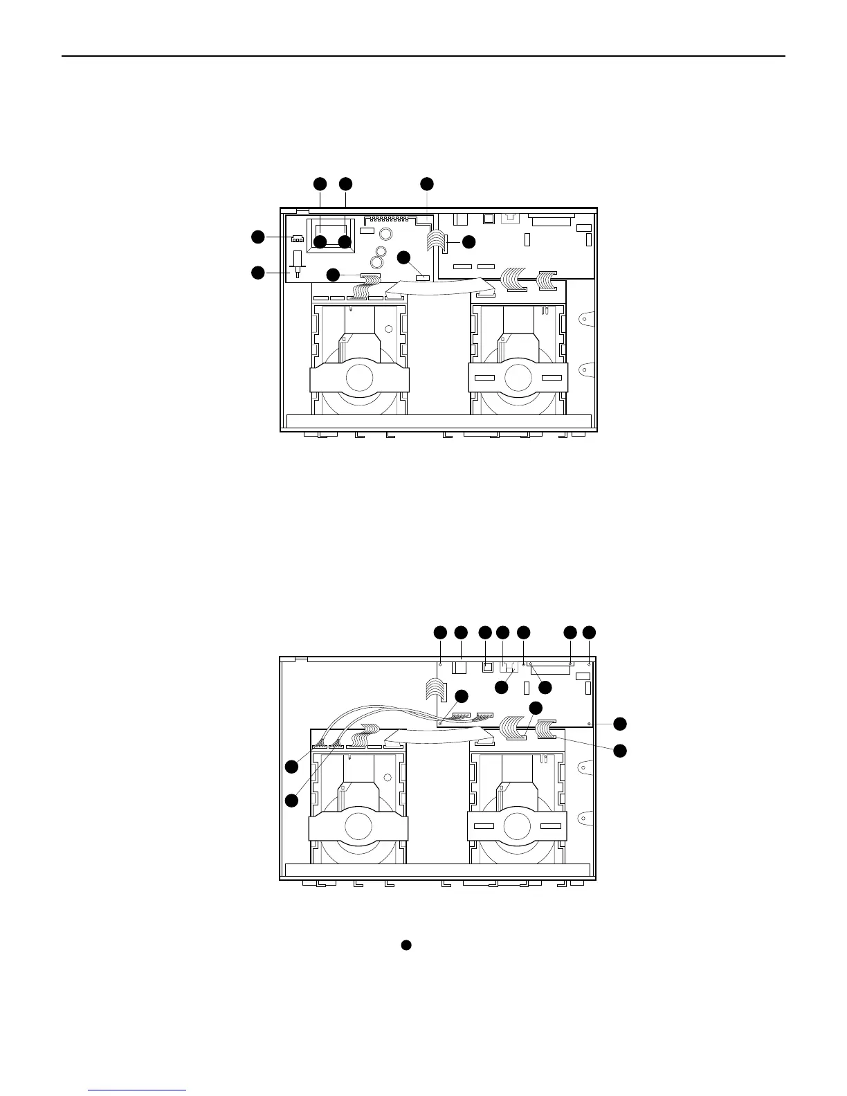
5. PCB-1(Power) REMOVAL
6. PCB-2(I/O) REMOVAL
1. Detach the connector to in Fig.5
2. Remove screws to in Fig.5, and then remove PCB-1.
1. Detach the connector to in Fig.6
2. Remove screws to in Fig.6, and then remove PCB-2.
<Fig 5>
<Fig 6>
➊➍
➊➌
➍➓
15
CDR2 harman/kardon

Table of Contents

Other manuals for Harman Kardon CDR2

Related product manuals