EasyManua.ls Logo

Harmar Mobility Pinnacle Series - INSTALLATION PROCEDURES; Determine Overall Rail Length

Harmar Mobility Pinnacle Series
24 pages
Print Icon
To Next Page IconTo Next Page
To Next Page IconTo Next Page
To Previous Page IconTo Previous Page
To Previous Page IconTo Previous Page
Loading...
© 2018Harmar Mobility, LLC • All Rights Reserved
| www.harmar.com
4
Pinnacle SL300
INSTALLATION PROCEDURES
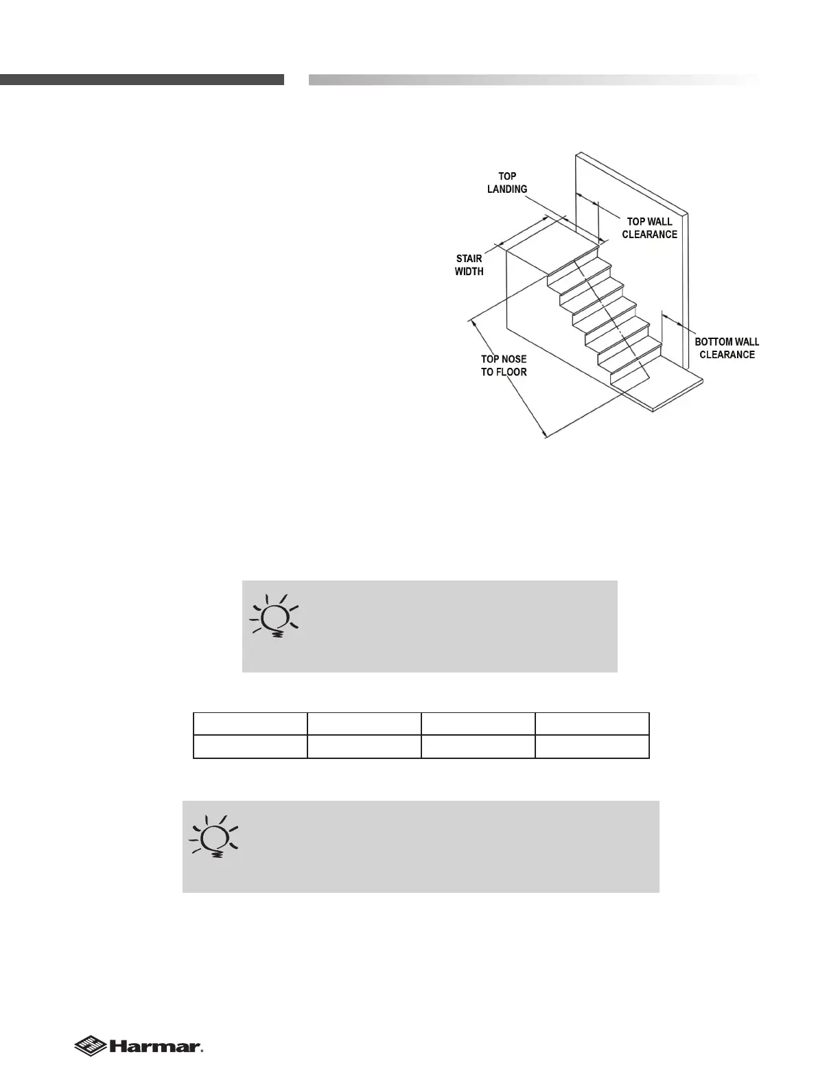
A. DETERMINE OVERALL RAIL LENGTH
(Only if rail did not come pre-cut to length)
1. Determine any obstructions that will aect the
position and length of the rail. These may include
walls, doors, hallway orientation, etc.
2. Measure the overall length of the stairs from the
nose at the top landing of the stairs to the oor at
the bottom (nose to oor measurement, (128").
[Figure 4-1]
3. For a normal stairway with adequate space for a
landing, add 13" to the nose to oor measurement.
This will provide enough rail length to allow
the stair lift to be adjusted so that the oor-to-
seat height will be the same at both the top and
bottom (e.g., 141").
4. If the top landing has restrictions (i.e., a wall or
doorway), use the chart below to determine the
length of extension that should be used.
5. To cut the rail, use a standard 12" chop saw,
with a blade designed to cut aluminum.
Figure 4-1
Installation Site Electrical Requirements - The lift shall be connected to a dedicated
120V 15A electrical circuit.
Extension
7 in 9 in 11 in 13 in
3.9 in 5 in 6.1 in 7.2 in
Horizontal intrusion on top landing
TIP
Do not cut rail inside the house (aluminum
chips are very hard to remove from carpets)
TIP
DO NOT cut the end of the rail that contains the joint holes.
Remove the charger strips and wire harness before cutting.

Related product manuals