EasyManua.ls Logo

Hitachi PSC-A64S - Page 126

Hitachi PSC-A64S
774 pages
To Next Page IconTo Next Page
To Next Page IconTo Next Page
To Previous Page IconTo Previous Page
To Previous Page IconTo Previous Page
Loading...
4 Individual remote controls
PC-ARF
TCGB0106 rev.0 - 12/2014
110
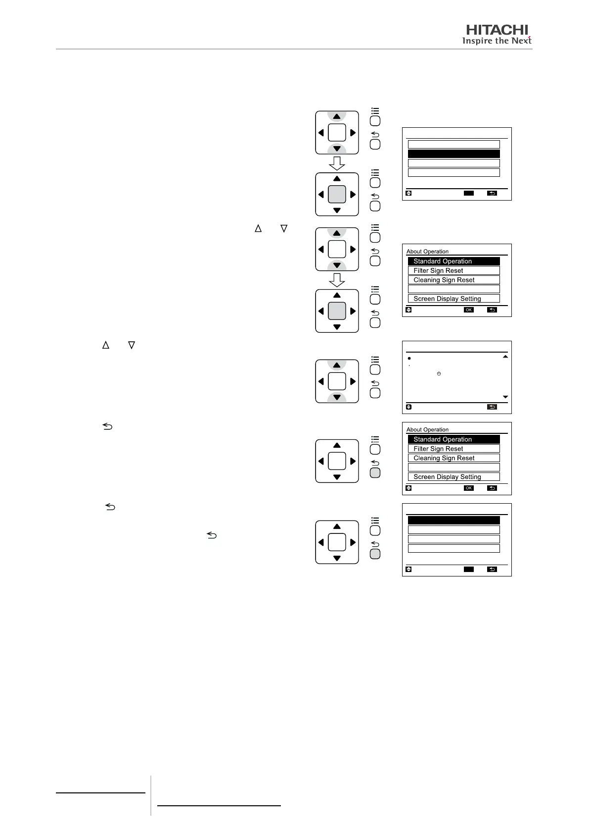
About Operation
This function is used when an explanation of operations and operation methods is required.
1
Select “About Operation” from the help menu and
press “OK”.
OK
Help Menu
Contact Information
Troubleshooting
About Operation
About Indication
ENT
.R
TN.SEL.
OK
OK
2
Select the operation from the list by pressing “
” or “
and press “OK”. Then, the explanation of operation list
is displayed.
Time Setting
RTN.
SEL.
ENT.
OK
OK
3
Press “
” or “ ” to scroll the text up and down.
About Operation
01
/
03
Standard Operation
RUN/STOP
1. Press the “ ” (RUN/STOP) switch
The Run Indicator is turned ON
during operation.
Next Page RTN.
OK
4
Press “
” (return). The screen returns to the operation
item.
Time Setting
RTN.
SEL.
ENT.
OK
5
Press “
” (return). The screen returns to the help
menu.
To return to the normal mode, press “
” (return) again.
OK
Help Menu
Contact Information
Troubleshooting
About Operation
About Indication
ENT
.R
TN.SEL.
OK

Table of Contents

Other manuals for Hitachi PSC-A64S

Related product manuals