EasyManua.ls Logo

Hitachi PSC-A64S - Page 770

Hitachi PSC-A64S
774 pages
To Next Page IconTo Next Page
To Next Page IconTo Next Page
To Previous Page IconTo Previous Page
To Previous Page IconTo Previous Page
Loading...
9 Control accessories
PRC-(10-30)E1
TCGB0106 rev.0 - 12/2014
754
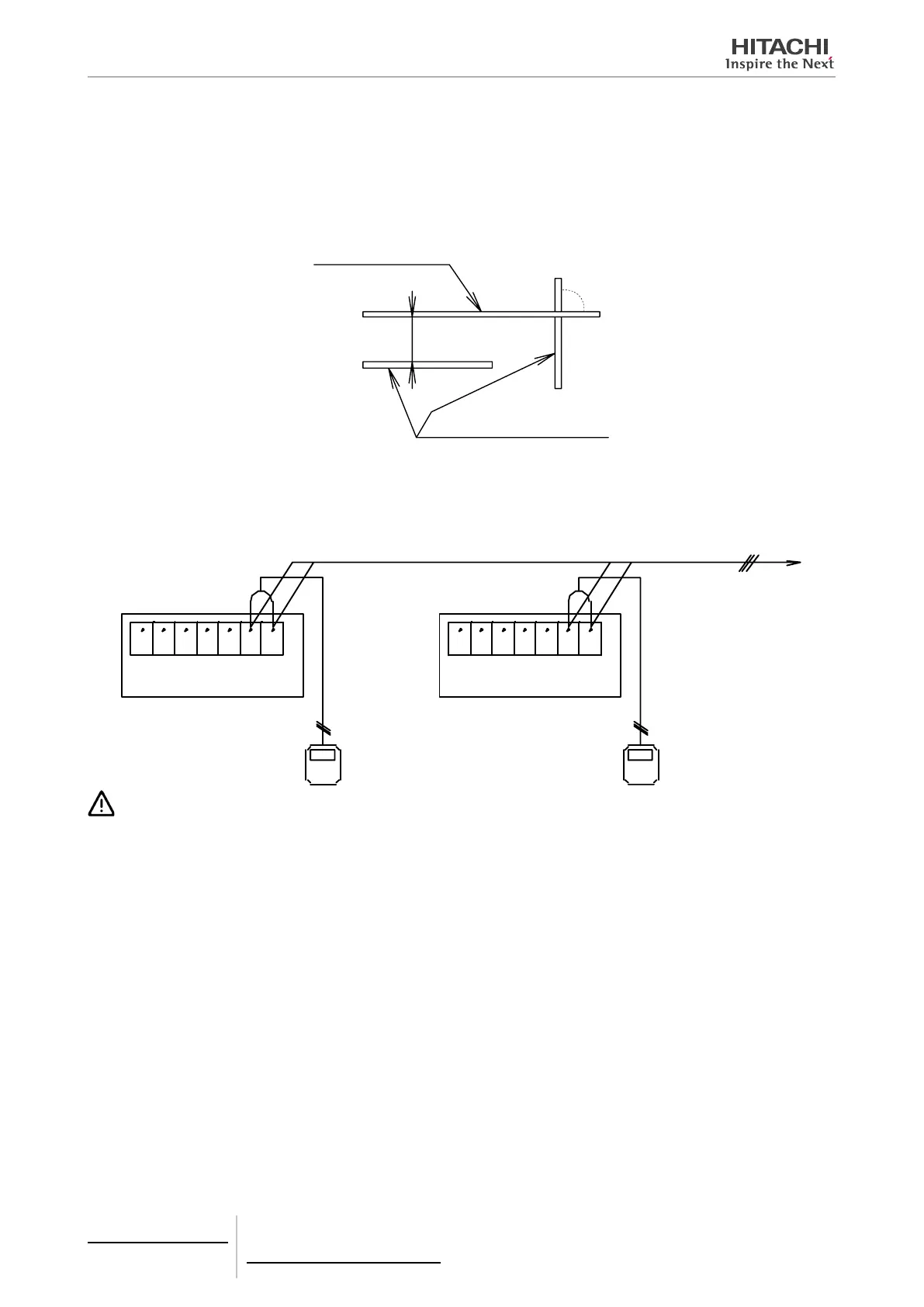
Remote Control Cable Utilization Method
Do not install the control cable parallel to the power source wires (220V to 415V)
If the control cable is required to be installed parallel to the power source wires, separate the control cable by at least 15
cm. If cannot be separated, put either the control wire or the power source in a steel pipe and connect an earth wire to the
pipe. Crossing at right angles of the control wire and power source wire is permitted.
220~415V Cable
Remote Control Cable
Over 15 cm
90º
Utilization for connecting indoor units
When the indoor units are controlled by one remote control switch, use the remote control cable as connecting cables
between indoor units, as shown in the gure.
Terminal Board
Terminal Board
Remote control
switch
Remote control
switch
CAUTION
If the remote control switch is disassembled, the following problems can occur:
Dust can enter into the remote control switch and cause remote control switch parts malfunction.
Static electricity may occur and the electronic parts on the printed circuit board can be damaged.
The total length of the remote controller cable and the control cable between the indoor units shall be 500m or less.

Table of Contents

Other manuals for Hitachi PSC-A64S

Related product manuals