EasyManua.ls Logo

HP 4262A - Mechanical Parts - Exploded View

HP 4262A
264 pages
Print Icon
To Next Page IconTo Next Page
To Next Page IconTo Next Page
To Previous Page IconTo Previous Page
To Previous Page IconTo Previous Page
Loading...
Section
VI
Table
6-3
6-25
Model
4262A
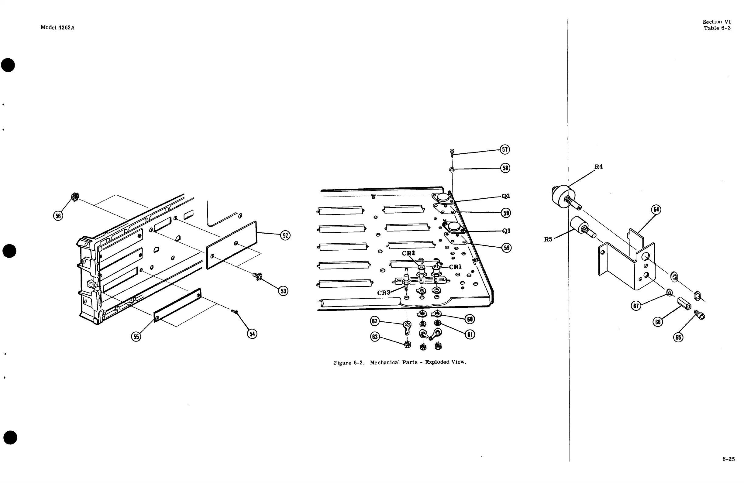
Figure
6-2.
Mechanical
Parts
-
Exploded
View.

Table of Contents

Related product manuals