EasyManua.ls Logo

HP EliteBook 820 G2 - Page 69

HP EliteBook 820 G2
136 pages
Print Icon
To Next Page IconTo Next Page
To Next Page IconTo Next Page
To Previous Page IconTo Previous Page
To Previous Page IconTo Previous Page
Loading...
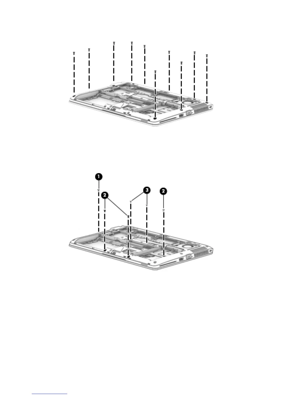
8. Remove the ten Torx T8M2.5×6.5 screws that secure the top cover to the base enclosure.
9. Remove the following screws that secure the top cover to the base enclosure:
(1) One Phillips PM2.0×6.5 screw
(2) Three Phillips PM2.5×4.5 screws
(3) Two Phillips PM2.0×3.0 screws
10. Remove the two Phillips PM2.5×4.5 screws (1) that secure the top cover to the base enclosure.
Component replacement procedures 59

Table of Contents

Other manuals for HP EliteBook 820 G2

Related product manuals