EasyManua.ls Logo

HP ProLiant DL385p - FBWC Module Leds (P222, P420, P421)

HP ProLiant DL385p
140 pages
Print Icon
To Next Page IconTo Next Page
To Next Page IconTo Next Page
To Previous Page IconTo Previous Page
To Previous Page IconTo Previous Page
Loading...
Component identification 20
Status
On = AC power is connected.
Off = AC power is disconnected.
Missing = Riser cage is not installed, or power might not be
connected.
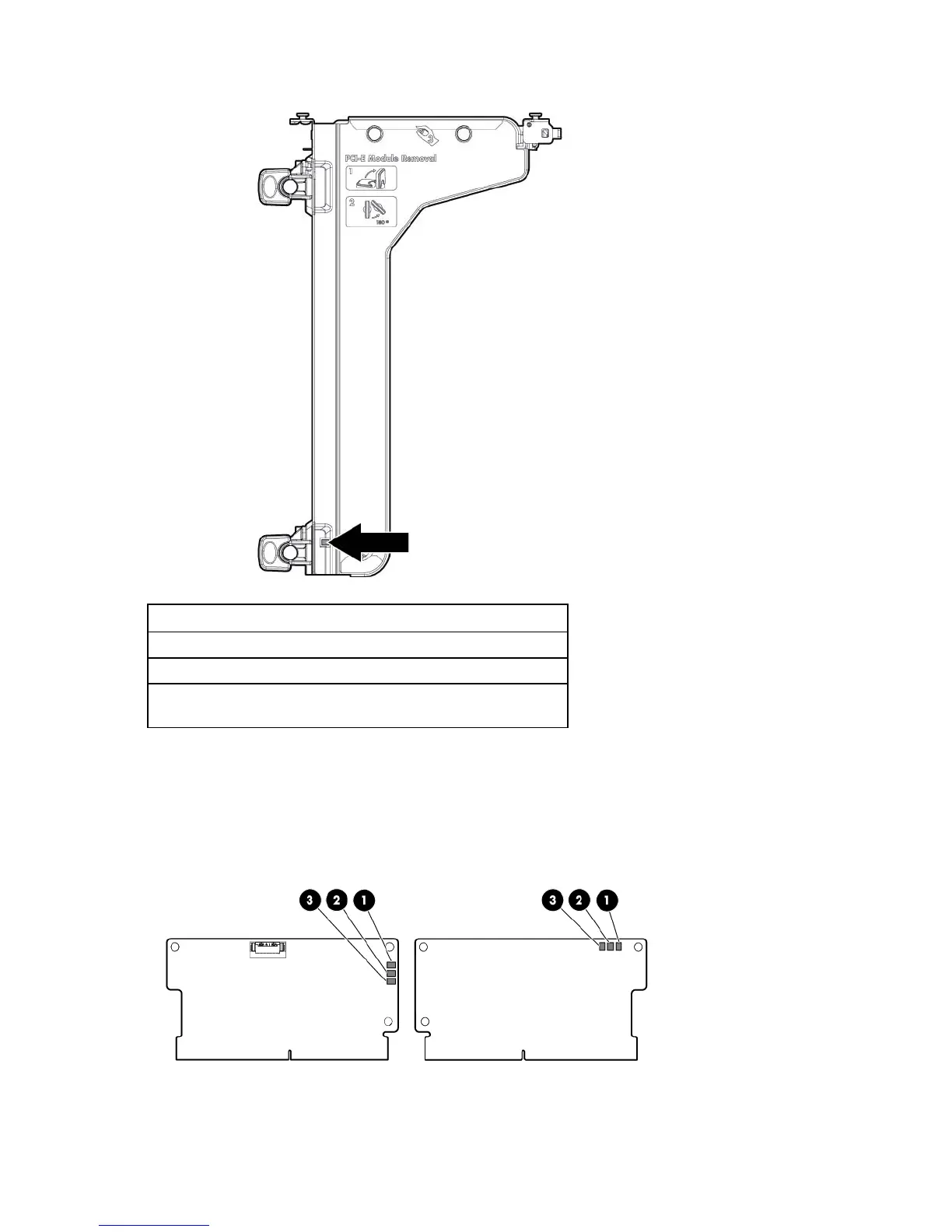
FBWC module LEDs (P222, P420, P421)
The FBWC module has three single-color LEDs (one amber and two green). The LEDs are duplicated on the
reverse side of the cache module to facilitate status viewing.

Table of Contents

Other manuals for HP ProLiant DL385p

Related product manuals