EasyManua.ls Logo

HTC 650 - Exploded Diagram, HTC 800 Drive Mechanism; Parts List, HTC 800 Drive Mechanism

HTC 650
64 pages
Print Icon
To Next Page IconTo Next Page
To Next Page IconTo Next Page
To Previous Page IconTo Previous Page
To Previous Page IconTo Previous Page
Loading...
22
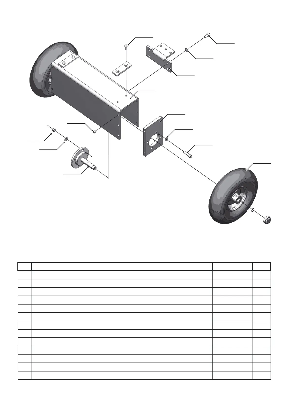
Parts list, HTC 800 drive mechanism
1
2
3
4
5
6
7
8
9
10
11
12
13
Exploded diagram, HTC 800 drive mechanism
No. Description Art. No. Qty
1 Screw MF6S M10x30 galvanised 10.9 310146 4
2 Drive mechanism, HTC 800 111347 1
3 End, drive mechanism, HTC 800 111348 2
4 Washer BRB M12 galvanised 310057 8
5 Screw M6S M12x45 galvanised 310037 2
6 Wheel HTC 800 HDX 111367 2
7 Wheel axle HTC 800 111351 2
8 Washer BRB M12 galvanised 310057 8
9 Nut M6M M12 galvanised 310201 8
10 Screw MC6S M8x20 8.8 galvanised 310161 12
11 Pulling anchorage HTC 800-950 111014 1
12 Washer BRB M12 galvanised 310057 4
13
Screw M6S M12X25 galvanised 310011 4

Table of Contents

Related product manuals