EasyManua.ls Logo

Hunter PSC-Z Series - Anzeigedisplay und Tasten des PSC-Z

Hunter PSC-Z Series
Print Icon
To Next Page IconTo Next Page
To Next Page IconTo Next Page
To Previous Page IconTo Previous Page
To Previous Page IconTo Previous Page
Loading...
29
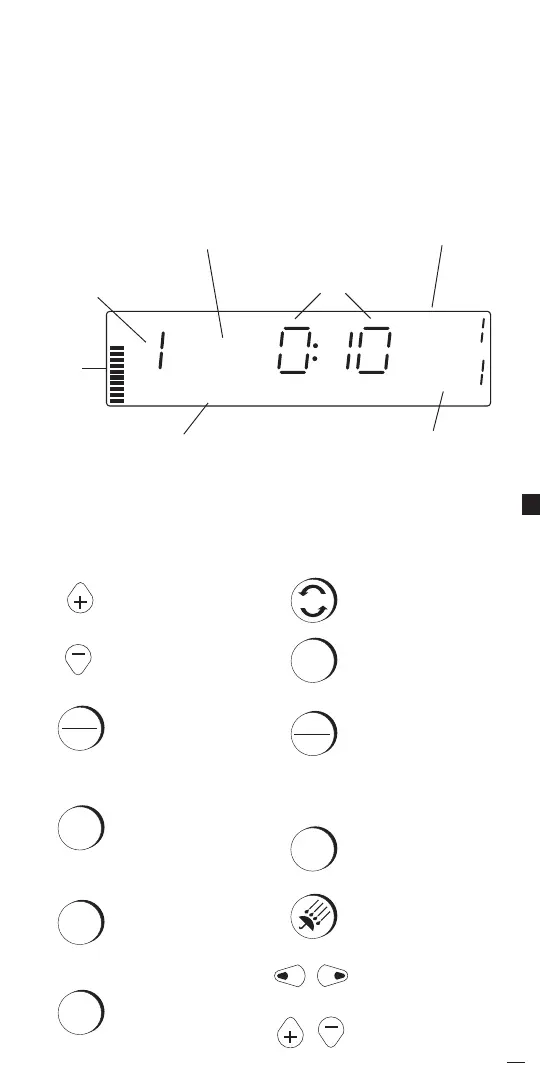
Anzeigedisplay des PSC-Z .................................
Leicht lesbares Anzeigedisplay des PSC-Z : Angabe der Uhrzeit
und des Datums, wenn das Steuergerät eingeschaltet ist. Durch
einfachen Druck auf die Taste Station können Sie das
Beregnungsprogramm jeder Station überprüfen.
SEASONAL
ADJUST
Umschaltung von einem
Programm zum anderen (A
oder B)
Manueller Start einer
Station
Einschalten einer Pause
während des automatischen
Betriebs
Annullierung eines manuellen
Betriebs
Rückkehr zur programmierten
Anzeige von Uhrzeit und Datum
Starten eines vollständigen
Programms mit allen
Wiederholzyklen
Unterbrechung oder Neustart
des automatischen
Beregnungsprogramms
Verschiebung nach links oder
rechts des blinkenden Cursors
für die Programmierung
Erhöhung oder Verminderung
der Programmierwerte
A
B
ONE
STATION
END
CANCEL
STATION
START
TIMES
NO
WATER
DAYS
Stations-Nr.
Nächster
Beregnungstag
Tage-Intervall (bis zu 14)
STATION
PROGRAM A
CYCLES
PER DAY
CYCLE TIME
DAYS
APART
NEXT WATER WED
Definition der Tasten ........................................
TIME
DAY
2 verschiedene Programme
(A und B)
Anzeiger
der
saisonbedingten
Einstellung
Verlängerung oder
Verkürzung aller
Beregnungszeiten
Einstellung von Uhrzeit
und Datum
Programmierung einer
Station
Einstellung der
Beregnungs-Startzeit von
Programm A und/oder B
Programmierung der Tage
ohne Beregnung
Zyklusdauer bis zu
3 Std. 59 Min.
Zyklenanzahl pro Tag (bis
zu 14 pro Programm,
insgesamt 28 pro Station)
LAST
NEXT
ALL
STATIONS

Table of Contents

Related product manuals