EasyManua.ls Logo

Hydro-Pro Hydro-Pro+Premium 7 - Bedienung der Steuerung

Hydro-Pro Hydro-Pro+Premium 7
202 pages
Print Icon
To Next Page IconTo Next Page
To Next Page IconTo Next Page
To Previous Page IconTo Previous Page
To Previous Page IconTo Previous Page
Loading...
4 VERWENDUNG UND BETRIEB
15
4.2. Bedienung der Steuerung
4.2.1. Einschalten und Ausschalten
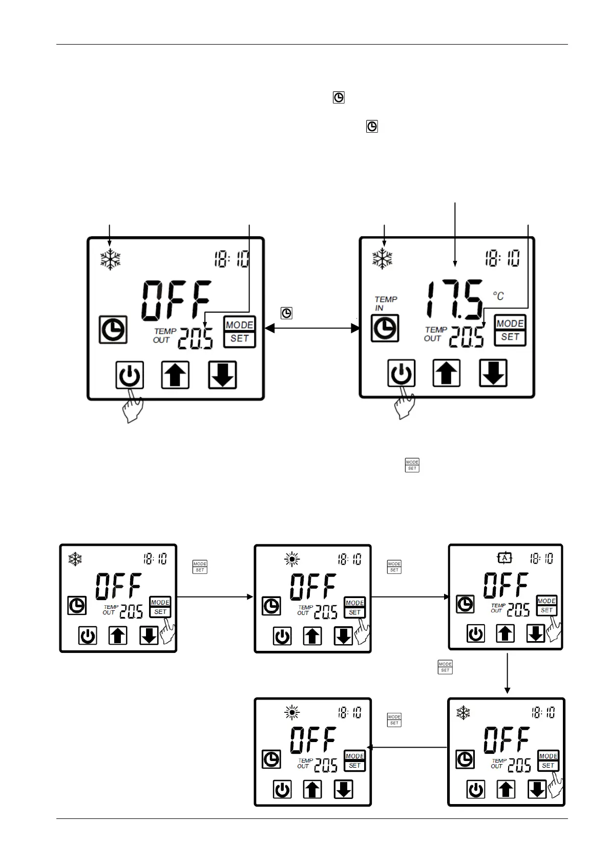
Auf der Aus-Anzeige 0,5 Sekunden lang berühren, um das Gerät
einzuschalten; im zusätzlichen Anzeigebereich wird die Wasserablauftemperatur
angezeigt. Auf der Ein-Anzeige 0,5 Sekunden lang berühren, um das Gerät
auszuschalten; im zusätzlichen Anzeigebereich wird OFF angezeigt.
Achtung: Das Ein- und Ausschalten ist nur auf der Hauptanzeige möglich.
Beispiel:
Wasserzulauf-
temperatur
Wasserablauftemperatur
Wasserab-
lauftempe-
ratur
Anzeige des aktuellen
Modus
Anzeige des aktuellen Modus
0,5 Sekunden
lang berühren,
um das Gerät
ein- bzw.
auszuschalten
Gerät aus
Gerät ein
4.2.2. Moduswechsel
Bei einem Kühl-/Heizgerät kann durch Berühren von auf der Hauptanzeige
zwischen den Modi Kühlung, Heizung und Automatik umgeschaltet werden.
Achtung: Der Moduswechsel ist ohne Funktion, wenn es sich nur um ein Kühl- oder
Heizgerät handelt.
Beispiel:
berühren.
berühren.
berühren.
berühren.

Table of Contents

Related product manuals