EasyManua.ls Logo

Hydro-Pro Hydro-Pro+Premium 7 - 4.2. The controller usage

Hydro-Pro Hydro-Pro+Premium 7
202 pages
Print Icon
To Next Page IconTo Next Page
To Next Page IconTo Next Page
To Previous Page IconTo Previous Page
To Previous Page IconTo Previous Page
Loading...
4 USAGE AND OPERATION
10
4.2. The controller usage
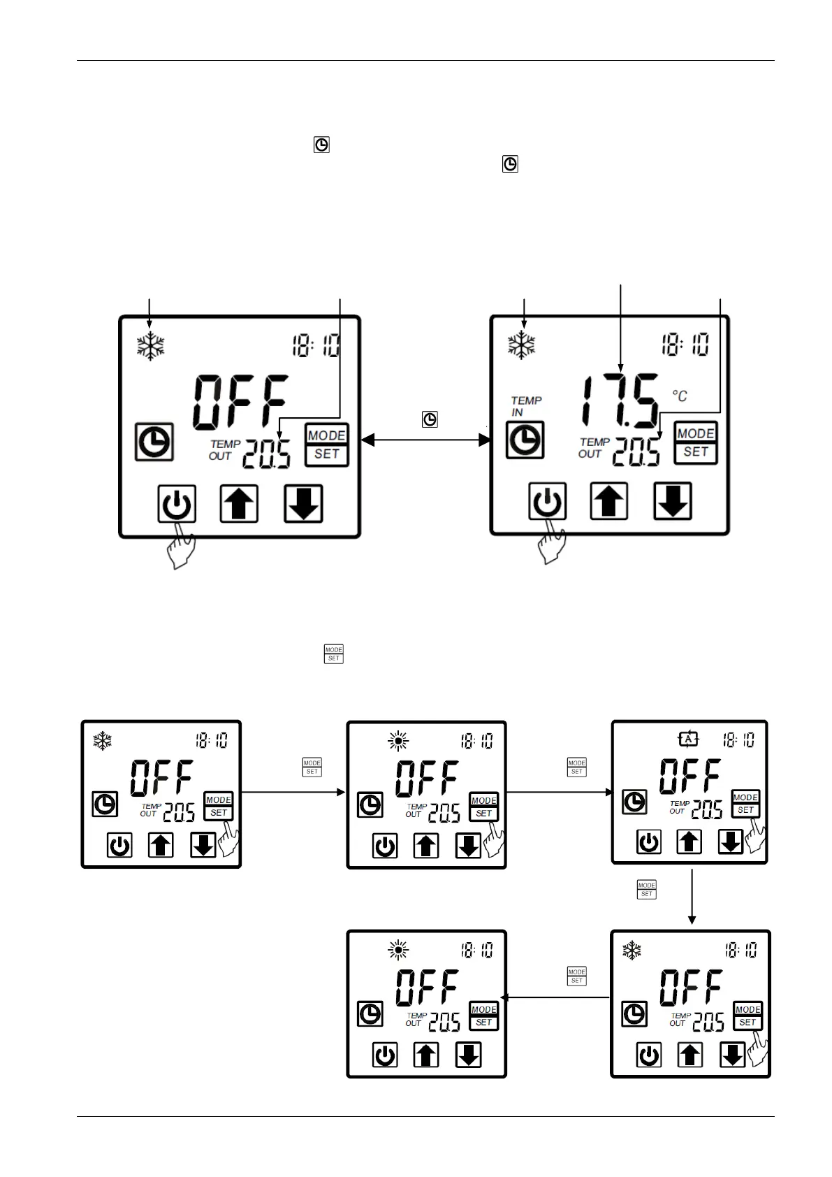
4.2.1. Starting up and shutting down
In the off interface, press " " for 0.5s can start up the unit, and aux. display-area shows
water outlet temperature; In the running interface, press " " for 0.5s can shut down the unit
and aux. display-area shows "OFF".
Attention: the operation of Starting up and shutting down can only be done in the main
interface
For example:
Water inlet
temperature
Water outlet
temperature
Water outlet
temperature
Actual Mode display
Actual Mode display
Press " "
for 0.5 second
can switch
between unit
on and unit off
Off unit
On Unit
4.2.2. Modes switching
If it is cold/ heat unit, in the main interface, you can switch different modes of cooling,
heating, auto mode by pressing " ".
Attention: The modes switching is useless if the unit you buy is single-cold/ single-heat unit.
For example:
Press " "
Press " "
Press " "
Press " "

Table of Contents

Related product manuals