EasyManua.ls Logo

Icom IC-746PRO - I if Filter Selection

Icom IC-746PRO
116 pages
Print Icon
To Next Page IconTo Next Page
To Next Page IconTo Next Page
To Previous Page IconTo Previous Page
To Previous Page IconTo Previous Page
Loading...
50
5
FUNCTIONS FOR RECEIVE
2001 NEW
IF lter selection
The transceiver has 3 passband width IF filters for
each mode.
For SSB and CW modes, the passband width can be
set within 50 to 3600 Hz in 50 or 100 Hz steps. A total
of 41 passband widths are available.
For RTTY mode, the passband width can be set within
50 to 2700 Hz in 50 or 100 Hz steps. A total of 32
passband widths are available.
For AM and FM modes, the passband width is fixed
and 3 passband widths are available independently.
The filter selection is automatically memorized in
each mode.
The PBT shift frequencies are automatically memo-
rized in each lter.
DD
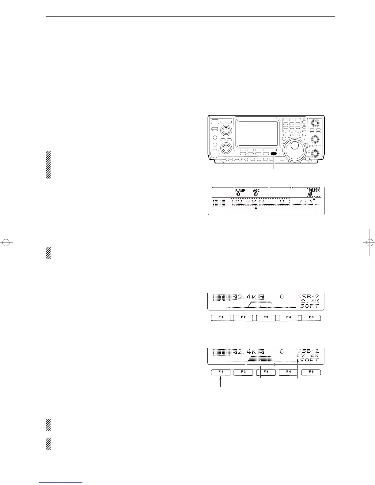
IF lter selection
q Select the desired mode.
w For RTTY mode, turn OFF the RTTY lter.
e Push [FILTER] several times to select the IF filter
1, 2 or 3.
The selected passband width and filter number is dis-
played in the LCD.
By pushing [PBTC], the set filter passband width,
B, and shifting value S is indicated.
DD
Filter passband width setting (SSB, CW and RTTY mode only)
q Select SSB, CW or RTTY mode.
Passband widths for AM and FM modes are fixed and
cannot be set.
w For RTTY mode, turn OFF the RTTY lter.
e Push [FILTER] for 1 sec. to enter lter set mode.
r Push [FILTER] several times to select the desired
IF lter number.
t While pushing [F1 BW], rotate the tuning dial to set
the desired passband width.
In SSB and CW modes, the passband width can be set
within the following range.
50 to 500 Hz 50 Hz steps
600 to 3600 Hz 100 Hz steps
In RTTY mode, the passband width can be set within the
following range.
50 to 500 Hz 50 Hz steps
600 to 2700 Hz 100 Hz steps
Push [F-3] for 1 sec. to select the default value.
y Repeat steps r to t if desired.
u Push [MENU] to exit the lter set mode.
The PBT shift frequencies are cleared when the
passband width is changed.
This lter set mode screen graphically displays the
PBT shift frequencies and CW pitch operations.
AGC
DUP
CMP
TBW
SCP
[FILTER]
The selected filter width is indicated
for approx. 1 sec. when [FILTER] is
pushed.
Filter selection
BW
Filter set mode indication
Shows the selected filter and passband width.
BW
Indication while setting
While pushing [F1 BW], rotate the tuning dial to set
passband width.
Reverses Appears
IC-746PRO.qxd 02.4.2 11:31 Page 50

Table of Contents

Other manuals for Icom IC-746PRO

Related product manuals