EasyManua.ls Logo

Icom IC-M71 - Page 203

Icom IC-M71
327 pages
Print Icon
To Next Page IconTo Next Page
To Next Page IconTo Next Page
To Previous Page IconTo Previous Page
To Previous Page IconTo Previous Page
Loading...
TM 10-7360-226-13&P
CONTAINERIZED KITCHEN (CK) 0034 00
GROUP 01 SHELTER REPAIR PARTS
0034 00-4
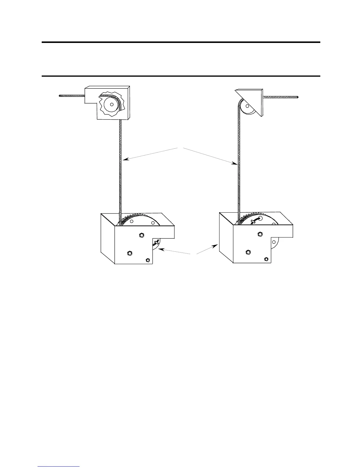
Figure 2. Winch/Cable Assembly.
1
2

Table of Contents

Related product manuals