EasyManua.ls Logo

Intergas HRE 36/40 - Page 28

Intergas HRE 36/40
52 pages
Print Icon
To Next Page IconTo Next Page
To Next Page IconTo Next Page
To Previous Page IconTo Previous Page
To Previous Page IconTo Previous Page
Loading...
Intergas Heating Ltd 28
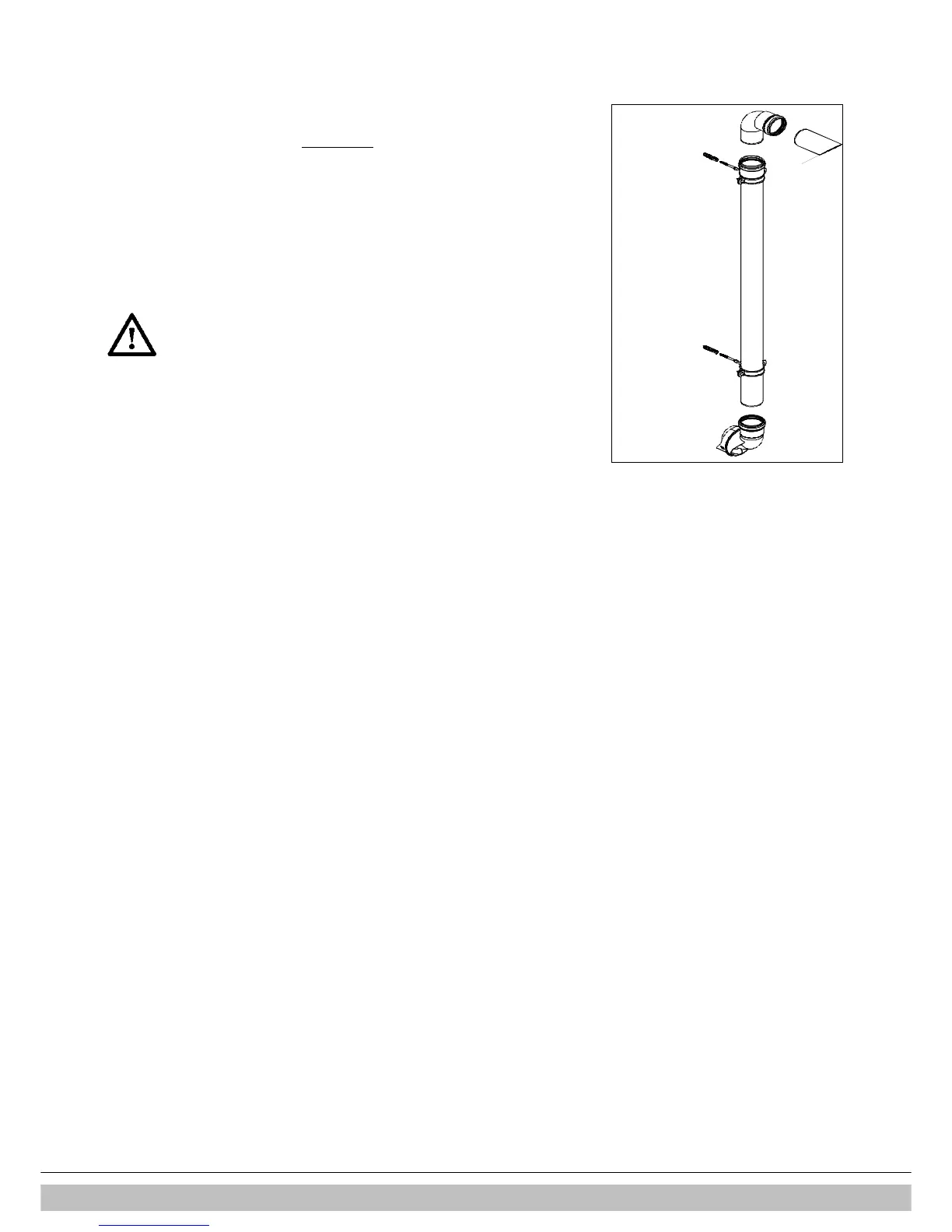
8.5.6 Plume management kit
The plume management kit comprises of a 710 mm horizontal section with elbow to connect the
1m vertical condensing tube, which has a horizontal or vertical terminal dependant on your
requirements. The maximum length of horizontal flue including the terminal but excluding the
initial elbow from the boiler and 1 metre vertical condensing tube is 7 metre.
Note
For each additional 90º elbow used the maximum flue length must be reduced by 1.5 metre,
whilst the use of 2 x 45º bends warrants a reduction of 2 metre.
The horizontal part of the flue must be installed under a 3° fall towards the boiler (50 mm per
metre) and must be supported with a minimum of 1 bracket at each meter length. Best
recommended position of the bracket is just before the joint.
8.5.7 Flues in voids
The flue system must be connected in accordance with the manufacturers instructions BEFORE
firing the boiler.
The term void includes ceiling voids, floor voids, purpose built enclosures ,service risers, roof
spaces or any other enclosure that will restrict access to inspect the flue.
To allow visual inspection, without reliance on devices such as endoscopes, cameras and mirrors,
inspection hatches must be provided along the entire length of the flue.
Hatches must be a minimum of 300mm x 300mm and positioned with the edge of the inspection
hatch to 1.5m of any joint and at changes of direction. Bends should be viewable from both
directions where the inspection hatch cannot be positioned at the bend.
Where suitable access is not provided the appliance MUST NOT be commissioned and must be
disconnected from the gas supply.
Additionally the entire flue and all flue seals must be installed in accordance with the requirements
of BS5440:
1. Check condensate trap is filled with water and correctly connected to boiler.
2. All flue joints are correctly made, unstressed and adequately supported.
3. All parts of the flue can be visually inspected -ensure suitable access where flue is positioned
within voids-
CAUTION
Sealing rings should only be moisturized with water before use. Do not use
soap or other detergents.
When installing flues in voids make sure they are connected and fixed
correctly. If in an existing situation a visual inspection is not possible the
boiler must not be commissioned and remain disconnected from the gas
supply untill suitable access has been realised.
Make sure to follow the manufacturer’s instructions regarding maximum
length of the flue system, the appropriate flue material, correct jointing
methods and the maximum distance between flue support.
Ensure that all joints and seams are gastight and watertight.
Ensure the flue system has a uniform gradient back to the boiler.

Table of Contents

Other manuals for Intergas HRE 36/40

Related product manuals