EasyManua.ls Logo

ISA T 2000 - Page 73

Default Icon
110 pages
Print Icon
To Next Page IconTo Next Page
To Next Page IconTo Next Page
To Previous Page IconTo Previous Page
To Previous Page IconTo Previous Page
Loading...
DOC. MIE11110 Rev. 5
Page
73
of
110
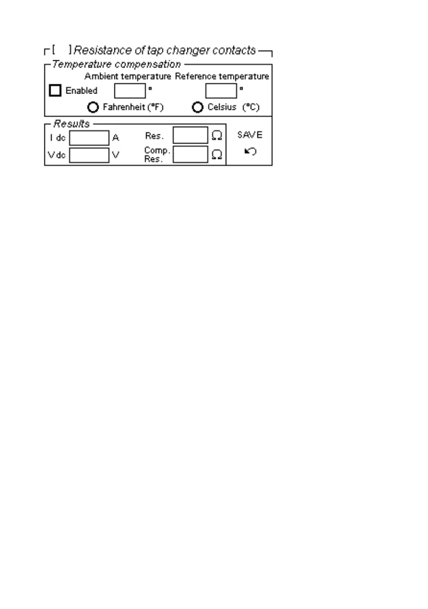
Purpose of the test is to measure the winding resistance of the
various taps of the transformer connected to the Load tap
Changer. The test allows verifying that the tap connection is
good; however, this is a static test, and does not show any lack
of contact during the selection. The operator will select the
various taps; then, as the selection is performed, the resistance
can be measured. The resistance will slightly change from the
lowest voltage output tap to the highest one.
This test is performed applying DC current to the PT primary, and
measuring the corresponding DC voltage drop. This voltage can be
measured at the T 2000 output sockets; however, if it is desired
to increase the test accuracy eliminating the voltage drops along
the connection cables, it is possible to measure the voltage drop
on the burden, by enabling the external measurement input.
The connection diagram is the following.

Related product manuals