EasyManua.ls Logo

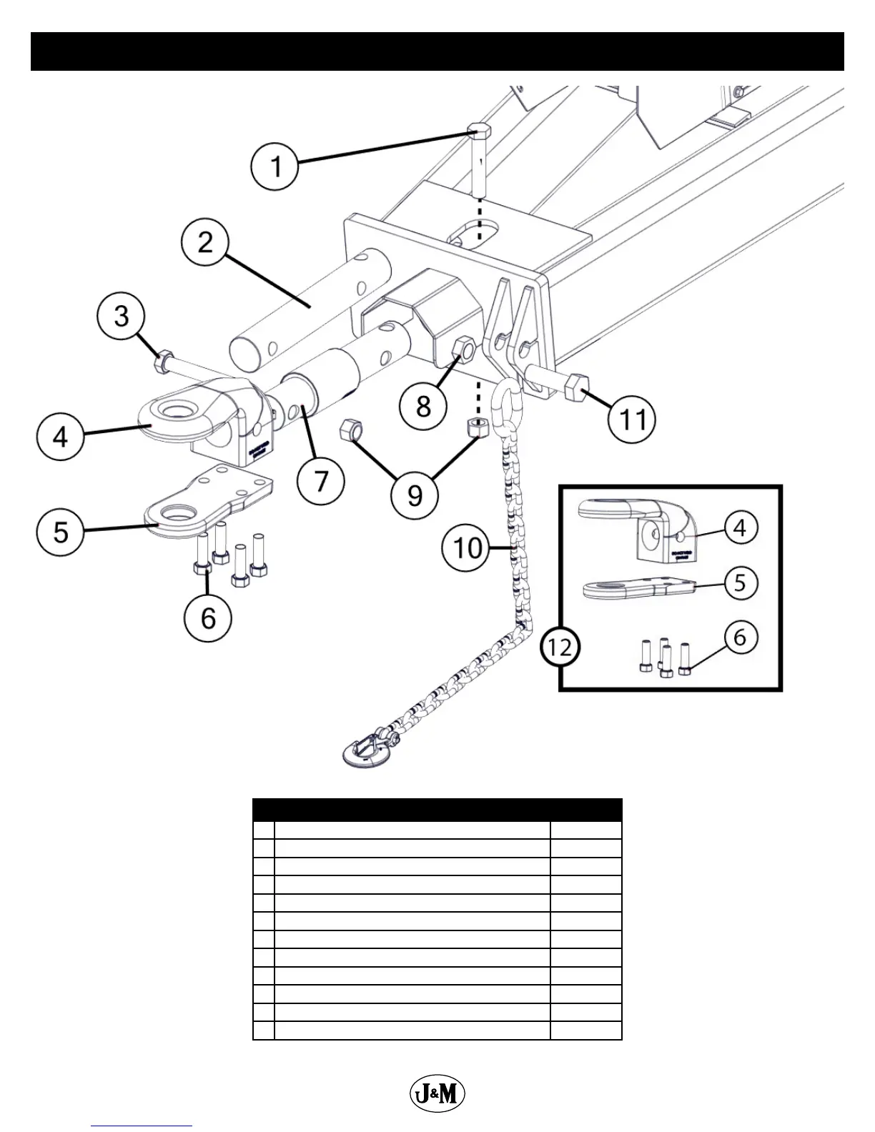
J&M 1012 - Hitch Assembly

Default Icon
49 pages
Print Icon
To Next Page IconTo Next Page
To Next Page IconTo Next Page
To Previous Page IconTo Previous Page
To Previous Page IconTo Previous Page
Loading...
26
Description Part No.
1 1”-8 x 5-1/2” Gr5 Z Hex Bolt JM0002110
2 2-7/8” x 16-3/4” Non-Scale Hitch Bar JM0025227
3 1”-8 x 7” Gr8 YZ Hex Bolt JM0042653
4 Cast Iron Spade 2-1/4” Pin Hole JM0020529
5 Cast Iron Clevis (Bolt-On) 2-1/4” Pin Hole JM0020527
6 3/4”-16 x 2-1/2” Gr8 YZ Fine Thread Hex Bolt JM0015323
7 2-7/8” Digi-Star Weigh Bar, 1” Pin Hole (278WB-T1) JM0000355
8 1-1/4”-7 Gr5 Z Nylon Locking Hex Jam Nut JM0027201
9 1”-8 Gr5 Z Centerlock Hex Nut JM0002149
10 40k Lb Safety Chain JM0029261
11 1-1/4”-7 x 4” Gr8 Z Hex Bolt JM0026073
12 Cast Iron Clevis Hitch Assembly JM0020537
Hitch Assembly

Related product manuals