EasyManua.ls Logo

Janome 134D - Lower Looper Height Adjustment

Janome 134D
39 pages
Print Icon
To Next Page IconTo Next Page
To Next Page IconTo Next Page
To Previous Page IconTo Previous Page
To Previous Page IconTo Previous Page
Loading...
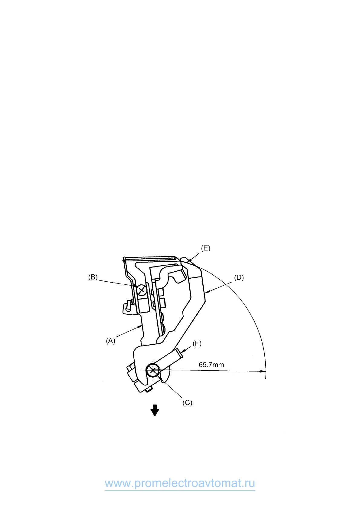
LOWER LOOPER HEIGHT
The height of the lower looper (B) should be 65.7 mm from the center of the lower looper
shaft (C).
TO ADJUST
1. Set the upper knife in down position to loosen set screw (A).
2. Turn the hand wheel to set the lower looper (B) at the rightmost position.
3. Remove set screw (A) and remove the lower looper (B).
4. Turn the hand wheel to set the lower looper (B) at the leftmost position.
5. Set the gauge No. 787-G01 (D) to the lower looper shaft (C).
6. Turn the hand wheel to set the lower looper (B) at the rightmost position.
7. Loosen set screw (A), and move the lower looper up or down to set the tip of lower
looper in line with guide line (E) of the gauge (D) as shown.
* Make sure the gauge (D) is pushed down as far as it goes.
8. Tighten set screw (A).
9. Remove the gauge (D) and set the upper knife in up position.
Note: you can adjust the height of the lower looper (B) without removing the lower
looper thread guide (F).
18
www.promelectroavtomat.ru

Related product manuals