EasyManua.ls Logo

JBL CBT1000 - Attaching the Offset Bracket

JBL CBT1000
28 pages
Print Icon
To Next Page IconTo Next Page
To Next Page IconTo Next Page
To Previous Page IconTo Previous Page
To Previous Page IconTo Previous Page
Loading...
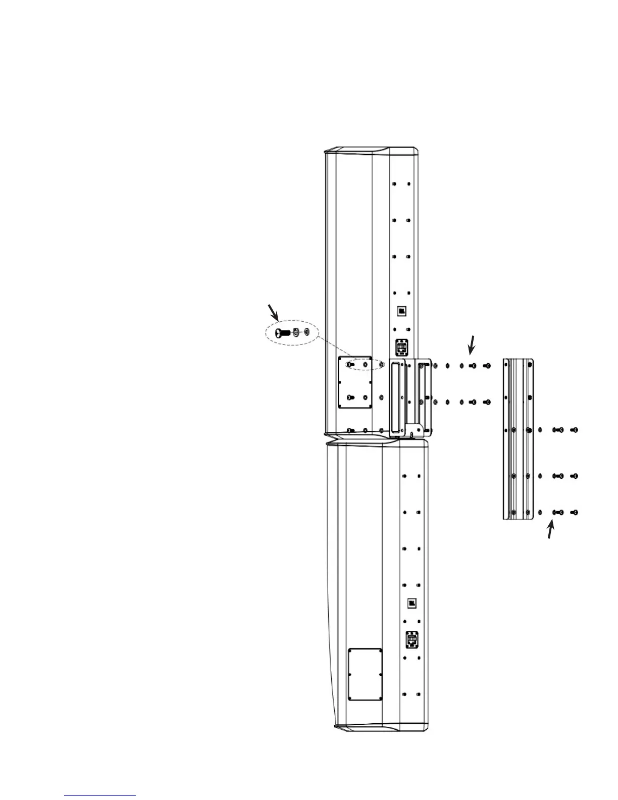
M8 x 20 mm
PAN HEAD BOLTS with
LOCK WASHERS and
FLAT WASHERS
6 PLACES:
3 on left side,
3 on right side
1) Attach MTC-CBT-OS3 to bottom 4
inserts of CBT 1000E using M8 PAN
HEAD BOLTS with LOCKWASHERS
AND FLATWASHERS
2) Attach top of COUPLER PLATE to
MTC-CBT-OS3 BRACKET by inserting
bolts through holes in MTC-CBT-OS3
BRACKET (3 on left side; 3 on right
side) and thread into captured nuts in
COUPLER PLATE
(6 places)
3) Attach bottom of COUPLER
PLATE to CBT 1000 via the normal
method, using M8 PAN HEAD BOLTS
with LOCK WASHERS and FLAT
WASHERS
(4 places)
4) Insert 2 bolts through middle holes
in the back panel of the COUPLER
PLATE and thread into captured
nuts at the bottom of MTC-CBT-OS3
bracket.
Make sure all bolts are tight.
26
M8 x 20 mm
PAN HEAD BOLTS with
LOCK WASHERS and
FLAT WASHERS
4 PLACES
M8 x 20 mm
PAN HEAD BOLTS with
LOCK WASHERS and
FLAT WASHERS
6 PLACES